![]()
Makita UH4261 420mm Electric Hedge Trimmer

Safety Instructions
Safety Instructions for the Makita UH4261 420mm Electric Hedge Trimmer
- If foam/liquid comes out, switch off immediately.
- Clean the water level limiting device regularly and examine it for signs of damage.
- Do not use the cleaner without filters in place.
- Be sure the switch is OFF when installing battery(ies).
- Never use the cleaner outdoors in the rain.
- Do not block the suction inlet/outlet/cooling vents. These vents permit cooling of the motor.
- Recharge only with the charger specified by the manufacturer.
- Use power tools only with specifically designated battery packs.
- Use of any other battery packs may create a risk of injury and fire.
- If liquid contacts the eyes, additionally seek medical help.
- Liquid ejected from the battery may cause irritation or burns.
- Do not expose a battery pack or tool to fire or excessive temperature.
- Exposure to fire or temperature above 130 °C may cause an explosion.
- Keep all parts of the body away from the cutter blade.
- Make sure the switch is off when clearing jammed material.
- A moment of inattention while operating the hedge trimmer may result in serious personal injury.
- Carry the hedge trimmer by the handle with the cutter blade stopped.
- When transporting or storing the hedge trimmer, always fit the cutting device cover.
- Proper handling of the hedge trimmer will reduce possible personal injury from the cutter blades.
- Do not use the hedge trimmer in the rain or in wet conditions. The electric motor is not waterproof.
- First-time users should have an experienced hedge trimmer user show them how to use the trimmer.
- Use the hedge trimmer only if you are in good physical condition.
- The user is responsible for all damages to third parties.
- Never use the trimmer when under the influence of alcohol, drugs, or medication.
- Make sure you have a secure footing before starting the operation.
Functional Description
- Always be sure that the Makita UH4261 420mm Electric Hedge Trimmer is switched off and unplugged before adjusting or checking the function on the tool.
- Put the blade cover on the shear blades before adjusting or checking the function on the tool.
Switch Action

- Switch trigger B
- Switch trigger A
- Switch trigger C
For your safety, this tool is equipped with a triple switching system. To turn on the tool, press switch trigger B and press switch trigger A or C at the same time. Release either one of the two pressed switch triggers to turn off. The sequence of switching is unimportant as the tool only starts when both switches are activated.’
Straight Cut

To trim the hedge straight, pull switch triggers A and B.
Vertical Cut

Cut upwards with both hands, pull the switch triggers B and C, and move it in front of your body.
Assembly
- Always be sure that the tool is switched off and unplugged before carrying out any work on the tool.
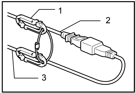
Engage the Extension Cord.

- Hook complete
- Tool’s cord
- Extension cord
When engaging the extension cord, secure it to the tool’s cord with the hook completely. Attach the hook about 100 – 200 mm from the extension cord connector. This will help prevent unintentional disconnection.
Waist Cord Hook
- Do not attach the holder of the waist cord hook to anything other than the extension cord.
- Do not attach it in a position closer to the tool beyond nd completely
- Failure to do so may cause an accident or personal injury.

- Hook
- Tool
- Tool’s cord
- Hook complete
- Extension cord
- Holder
- Waist cord hook

- Holder
- Cord
Arm Cord Hook (Accessory)

- Holder
- Arm cord hook band
Attach firmly the arm cord hook band, placing it around your arm, and pass the extension cord through the holder. The length of the arm cord hook band is adjustable.
- Do not pass the extension cord through the band.
- Do not force the opening of the holder. Failure to do so may cause deflection and damage to it.
- Using the arm cord hook together with the waist cord hook is more helpful.
Operation
When operating the Makita UH4261 420mm Electric Hedge Trimmer, follow these safety precautions:
- Be careful not to accidentally contact a metal fence or other hard objects while trimming.
- The blade will break and may cause serious injury.
- Overreaching with a hedge trimmer, particularly from a ladder, is extremely dangerous.
- Do not work from anything wobbly or infirm.

Do not attempt to cut branches thicker than 10 mm in diameter with this trimmer. These should first be cut with shears down to the hedge trimming level.

Hold the trimmer with both hands, pull the switch trigger A or B, and move it in front of your body.


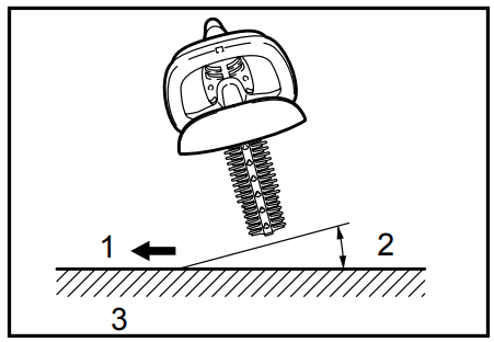
- Trimming direction
- Tilt the blades
- Hedge surface to be trimmed
As a basic operation, tilt the blades towards the trimming direction and move them calmly and slowly at the speed rate of 3 – 4 seconds per meter.

- String
To cut a hedge top evenly, it helps to tie a string at the desired hedge height and to trim along it, using it as a reference line.

Attaching the chip receiver (accessory) to the tool when trimming the hedge straight can avoid leaves being thrown away.

To cut a hedge side evenly, it helps to cut from the bottom upwards.

Trim boxwood or rhododendron from the base toward the top for a nice appearance and a good job.
Installing or Removing the Chip Receiver
- When installing or removing the chip receiver on the Makita UH4261 420mm Electric Hedge Trimmer, always wear gloves so that your hands and face do not come into direct contact with the blade. Failure to do so may cause personal injury.
- Always be sure to remove the blade cover before installing the chip receiver.
- The chip receiver receives cut-off leaves and alleviates the need to collect thrown-away leaves. This can be installed on either side of the tool.

- Press
- Chip receiver
- Nut
- Shear blade

- Hooks
- Fit the hooks into the groove
- Grooves
At this time, the chip receiver needs to be installed so that its hooks fit into grooves in the shear blade unit.

- Press the levers on both sides.
- Unlock the hooks
To remove the chip receiver, press its lever on both sides so that the hooks are unlocked.
Maintainance
- Clean out the tool by wiping off dust with a dry or soap-dipped rag.
- Smear the blade before and once per half an hour during operation using machine oil or similar.
- After the operation, remove dust from both sides of the blade with a wired brush, wipe it off with a rag, and then apply enough low-viscosity oil, such as machine oil, etc., and spray-type lubricating oil.
Storage
Put the blade cover on the shear blades so that the blades are not exposed. Store the tool out of the reach of children carefully. Store the tool in a place not exposed to water and rain. To maintain product SAFETY and RELIABILITY, repairs, carbon brush inspection and replacement, any other maintenance or adjustment should be performed by Makita Authorized Service Centers, always using Makita replacement parts.
Optional Accessories
These accessories or attachments are recommended for use with your Makita tool specified in this manual. The use of any other accessories or attachments might present a risk of injury to persons. Only use the accessory or attachment for its stated purpose. Additionally, if you need other complementary power tools for your garden or DIY projects, check out the Makita TW001G Cordless Impact Wrench Instruction Manual for more details.
- Blade cover
- Hook complete
- Waist cord hook
- Arm cord hook
- Chip receiver
Customer Service
- Website: https://www.makitauk.com
- Ph: 1-800-462-5482
FAQs
Q: What is the Makita UH4261 designed for?
The UH4261 is an electric hedge trimmer with a 420mm dual-action blade for effective, accurate trimming of bushes, shrubs, and hedges.
Q: What is the cutting capacity of the Makita UH4261?
The 420mm dual-action blade on the Makita UH4261 is made for accurate and effective trimming. It is perfect for medium to light hedge maintenance because it can cut branches up to 16 mm in diameter.
Q: What is the ideal power source for this trimmer?
The UH4261 is an electric hedge trimmer that needs a regular AC mains connection.
Q: Can I use the trimmer in wet conditions?
No, using the trimmer in wet grass, rain, or other damp circumstances increases the risk of electric shock.
Q: How do I properly hold the hedge trimmer?
Always use both hands to grip the trimmer, with one hand on the front handle and the other on the back. Never overreach, have a steady stance, and retain a strong grasp. Always keep the blade away from your body.
Q: How often should the blades be cleaned and maintained?
After each use, blades should be cleaned to avoid rust and sap accumulation. To maintain cutting performance and prevent corrosion, lightly oil the blades regularly.
Q: How can I sharpen the blades if they become dull?
A sharpening stone or a fine file can be used to sharpen blades. Prior to doing any blade maintenance, always disconnect the trimmer according to the manual’s safety instructions.
Q: Is the UH4261 suitable for thick branches?
It is intended for light to medium-sized branches. Use a pruning saw or loppers for thicker branches over 16 mm to prevent motor strain or damage to the trimmer.



2 Comments
Pingback: Makita TW001G Cordless Impact Wrench Manual | Safety, & Specs
Pingback: Makita TW011G Cordless Impact Wrench Manual | Safety & Guide