Makita VC2211M Wet & Dry Vacuum Cleaner

Safety Instructions
Always follow safety measures when operating the Makita VC2012L Dust Extractor Vacuum Cleaner, including proper filter installation and battery handling.
- Clean the water level limiting device regularly and examine it for signs of damage.
- Do not use the cleaner without filters in place.
- Be sure the switch is OFF when installing battery(s).
- Never use the cleaner outdoors in the rain.
- Do not block the suction inlet/outlet/cooling vents. These vents permit cooling of the motor.
- Recharge only with the charger specified by the manufacturer.
- Use power tools only with specifically designated battery packs.
- Use of any other battery packs may create a risk of injury and fire.
- If liquid contacts the eyes, additionally seek medical help.
- Liquid ejected from the battery may cause irritation or burns.
- Do not expose a battery pack or tool to fire or excessive temperature.
- Exposure to fire or temperature above 130 °C may cause an explosion.
Description
- Suction force adjusting knob
- Hose diameter selection dial
- Switch lever
- Outlet cap
- Power supply cord
- Hose band
- Base hook
- Front cuffs
- Hose
- FREE position
- LOCK position
- Stopper lever
- Caster
- Filter bag
- Holder plate
- Polyethylene bag
- Tank
- Tank cover
- Hook
- Cap
- Powder filter
- Damper
- Prefilter
- Level sensors
- Multi-hook
Intended use
The tool is intended for collecting both wet and dry dust. The tool is suitable for commercial use, for example, in hotels, schools, hospitals, factories, shops, offices, and rental businesses.
Power supply
The tool should be connected only to a power supply of the same voltage as indicated on the nameplate, and can only be operated on a single-phase AC supply. This tool should be grounded while in use to protect the operator from electric shock. Use only three-wire extension cords that have three-prong grounding-type plugs and three-pole receptacles that accept the tool’s plug.
Functional Description
Before plugging in the cleaner, always make sure that the cleaner is switched off. Plugging the cleaner with the switch on may cause an unexpected start, resulting in serious personal injury.
Switch Action
To start the cleaner, rotate the switch lever to the “I” side. To stop it, rotate the switch lever to the “O” side. (Fig. 2)
The suction force can be adjusted according to your work needs. Suction force can be increased by turning the suction force adjusting knob from the symbol to the symbol. Also, set the hose diameter selection dial to the hose’s diameter that you are going to use.
Connecting an Electric Power Tool
- When connecting a grounded tool, insert a plug with a grounding plate into the socket of the cleaner. To connect an electric power tool, open the outlet cap and insert the power tool plug into the socket of the cleaner.
- When connecting an electric power tool, secure the power supply cord and hose by the hose bands at regular intervals. It prevents the hose from entangling the power supply cord.

- Rotate the switch lever to the “AUTO” position.
- The cleaner still works for a few seconds even after the electric power tool is switched off.
- After use, disconnect the power tool from the socket of the learner.
- Switch off the cleaner after use.
Auto-Suction Stops During the Suction Operation
- Do not pick up foam or soapy liquid. Picking up foam or soapy liquid can cause foam to come out of the air exit before the auto-suction stop works. Continuing to use it in this condition may cause an electric shock and damage to the cleaner.
- The cleaner has a mechanism that prevents water from immersing into the motor when picking up more than a certain amount of water. When the tank is full of liquid, the cleaner emits a long warning beep. Switch off the cleaner and empty the tank when this beep sounds.
Usage of the base hook
Do not apply excessive force on the base hook. The excessive force on the base hook may damage the base hook. Close the base hook when not in use. Opening the base hook allows the following usage.
Storing the power supply cord
- Do not use the cleaner or a connected electric power tool with a power supply cord wound on the base hook. Using the cleaner or the connected electric power tool with a power supply cord may cause damage to the power supply cord.
Front cuffs 
Hose 
- Resting a reasonable-sized electric power tool on the base hook, such as a circular saw. (Fig. 8)

Locking or unlocking the caster 
To lock the caster with a stopper, lower the stopper lever, and the caster will no longer rotate. To release the caster from the locked position, raise the stopper lever. Locking the caster is convenient when storing the cleaner, stopping the work on the way, and keeping the cleaner still. To operate the stopper, move it by hand.
- When moving the cleaner, make sure that the caster is unlocked.
- Moving the cleaner with the caster in the locked position may cause damage to the caster.
Assembly
- This unit may contain hazardous dust. When replacing filter elements and the dust bag, always use a P2 respirator.
- Always be sure that the cleaner is switched off and unplugged before carrying out any work on the cleaner.
- Never switch on until all filters and the dust bag are completely installed, and the volume flow control is tested.
Installing and disposing of the filter bag
- Always use a P2 respirator.
- When using the filter bag, also use the air filter that is preinstalled on the tool.
- Failure to use the air filter together may cause unusual noise and heat, resulting in a fire.
Never pick up water or other liquids or wet dust when using the filter bag. Picking up such things may cause the filter bag to break.
- Extend the filter bag.
- Align the filter bag opening with the dust suction opening of the cleaner. (Fig. 11)

- Insert the cardboard of the filter bag onto the tool so that it is positioned at the end beyond the detent protrusion. When disposing of the filter bag, pull the edge of the filter bag’s mouth so that the mouth is closed by a paper.
Installing a polyethene bag
- Cleaner can also be used without a polyethene bag. However, using a polyethene bag makes it easier to empty the tank without getting your hands dirty. Spread the polyethene bag in the tank. Insert it between the holder plate and the tank, and pull it to the hose inlet. (Fig. 12)

- Spread the bag around the top of the tank. (Fig. 13) Hook up the other side of the bag around the top of the tank so that the prefilter hook can catch and hold it securely.

- A polyethene bag available on the market can be used. The 0.04 mm or thicker one is recommended.
- Too much dust will tear the bag easily, so do not collect the dust more than half of the bag’s capacity.
Disposing of the polyethene bag
- Failure to do so may cause an electric shock and serious personal injury.
- Do not apply a great impact on the air filter and tank.
- Applying a great impact may cause deformation and damage to the air filter and tank.
- Empty the tank at least once a day, although this depends on the picked-up dust volume in the tank.
- Do not grab the hook when emptying the tank.
- Grabbing the hook may cause the hook to break. Unhook and lift the tank cover.

- Take the polyethene bag out of the tank.

- Take the polyethene bag carefully out of the tank so that the polyethene bag cannot be caught and torn by the protrusion inside the tank when emptying it.
- Empty the polyethene bag before it becomes full. Too much dust in the tank may cause the polyethene bag to be torn.
Connecting a hose
- Never force the hose for bending or stamp it. Never move the cleaner by a hose. Forcing, stamping, and pulling the hose may cause a breakage or deformation of the hose.
- When picking up large wastes such as planer carvings, concretedusts, or similar other than small wastes, use the 38 mm inner diameter hose (optional accessory).
- Using the 28 mm inner diameter hose may cause hose stuffing and damage.
- Always put the cap on the mounting port whenever you remove the hose from the tool. Remove the cap from the mounting port. You can place the cap in a multi-hook while the hose is connected to the tool.

- Insert the hose into the mounting port of the tank and turn it clockwise until it locks.

Operation
If foam or liquid escapes from the tool, switch off immediately. Continuing to use it in this condition may cause an electric shocdamageetotoagetof the cleaner.
Maintainance
- Always be sure that the tool is switched off and unplugged before attempting to perform inspection or maintenance. Never use gasoline, benzine, thinner, alcohol, or the like. Discolouration, deformation, or cracks may result.
- A technical inspection, including inspection of filters, air tightness, and control mechanism, must be performed at least once a year by an instructed person.
- During maintenance, all contaminated items that cannot be satisfactorily cleaned must be disposed of. Such items must be disposed of in impervious bags that accord with your country’s regulations.
- All the parts of the tool must be regarded as contaminated when removed from the hazardous area, and appropriate action must be taken to prevent dust dispersal.
- Change the air filter when the air filter is clogged with dust ooorhen ouyoueel that the cleaner’s performance has declined. Check the filters periodically. If there is a tear on it, replace it immediately.
Removing the Filter
- Wait for about 5 minutes so that the dust in the tank completely settles down.
- Make sure that the tool is unplugged.
- Be careful not to let the dust enter the tank cover when removing the air filter.
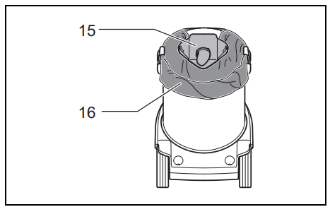
- Unhook the tank cover and remove it carefully. Put it upside down. (Fig. 18)

- Unlock the filter hooks by flipping the stopper lever. (Fig. 19)

- Cover the air filters with a plastic bag. (Fig. 20)

- Remove the air filters from the tank cover carefully and tie the plastic bag firmly. (Fig. 21)

Assembling the Filter
- When you get the air filter components separately, assemble them as follows. Put the prefilter over the powder filter.

- Make sure that the borders of the prefilter and powder filter are set properly.

Installing the Air Filter
Wipe off the seal face.
- Set the new air filters and fix them with the filter hooks.

- Flip the stopper lever to lock the air filters. Set the tank cover onto the tank and lock it with hooks.

Cleaning the level sensors
The level sensors detect liquid when the tank becomes full of liquid. Clean the level sensors with a soft cloth from time to time when changing the air filters.
Cleaning the air filters
A clogged filter causes poor suction performance. Clean out the filters from time to time. To remove dust or particles adhering to the filters, remove the prefilter from the air filter. And tap the prefilter several times.
- Occasionally, wash the powder filter in water, ririnseand dry thoroughly in the shade before use. Never wash filters in a washing machine.

- Do not rub and scratch the powder filter, the prefilter, or the damper with hard objects such as a brush and a paddle. The filters are consumable and are recommended to have some spares for them.
Storage of power supply cord

Wind up the power supply cord around the multi-hook or the base hook. Storage of accessories
- Do not apply excessive force to the accessories that are held by the pipe holder.
- Applying excessive force on these accessories may cause damage to the pipe holder.
- Pipe rest can be used to store straight pipe, bent pipe, and others by just inserting these accessories.

- The pipes can be placed into the pipe holder while also stopping the use of the cleaner for a while.

- You can place the cap in a multi-hook while the hose is connected to the tool. (Fig. 32)

Storage of the hose
Specifications
| Model | VC2211M/VC3211M | ||||
| Countries | EU | Switzerland | |||
| Voltage | Volt | 230-240 | 230-240 | ||
| Power consumption | Watt | 1,050 | 1,050 | ||
| Connected load for appliance socket | Watt at | symbol mode | 2,400 | 1,100 | |
| Watt at | symbol mode | 2,600 | 1,300 | ||
| Total connected load | Watt | 3,450 | 2,150 | ||
| Model | VC2211M | VC3211M | |||
| Maximum air volume at the end of the hose | With ø28 mm x 3.5 m hose | 2.0 m3/min | |||
| With ø38 mm x 2.5 m hose | 3.5 m3/min | ||||
| Maximum air volume at the turbine | 4.5 m3/min | ||||
| Vacuum | 22 kPa | ||||
| Type of protection | IP X4 (splash-proof) | ||||
| Recoverable capacity | Dust | 22 L | 32 L | ||
| Water | 17 L | 27 L | |||
| Dimensions (L x W x H) | 552 mm x 398 mm x 569 mm | 552 mm x 398 mm x 685 mm | |||
| Net weight | 16.3 kg | 16.9 kg | |||
| Safety class | Class I | ||||
- Due to our continuing program of research and development, the specifications herein are subject to change without notice.
OPTIONAL ACCESSORIES
The use of any other accessories or attachments might present a risk of injury to persons. OnlyOnOnlyc ssory or attachment for its stated purpose. If you need any assistance for more details regarding these accessories, ask your local Makita Service Centre.
- Hose
- Front cuffs (22, 24, 38)
- Straight pipe
- Corner nozzle
- Round brush
- Powder filter
- Damper
- Prefilter
- Nozzle assembly
- Bent pipe
- Polyethylene bag
- Filter bag
- Hose band
- Belt hook complete
- Cap
Noise
The typical A-weighted noise level determined according to IEC60335-2-69:
- Sound pressure level (LpA): 72.5 dB (A)
- Uncertainty (K): 2.5 dB (A)
The noise level under working conditions may exceed 80 dB (A). Wear ear protection.
Vibration
The vibration total value (tri-axial vector sum) determined according to IEC60335-2-69: The vibration emission value is below 2.5 m/s2.
EC Declaration of Conformity
Due to the presence of hazardous components in the equipment, used electrical and electronic equipment may harm the environment and human health. Do not dispose of electrical and electronic appliances with household waste!
Customer Service
- Website: https://www.makitauk.com/
- Ph: 1-800-462-5482
FAQs
Q: What is the Makita VC2211M designed for?
Designed for both home and commercial use, the Makita VC2211M is a wet and dry vacuum cleaner. It is perfect for workshops, building sites, garages, and cleaning applications that need high suction performance since it effectively catches dust, dirt, and liquid spills.
Q: What does the “M-Class” rating mean?
Medium-hazard dust filtering is referred to as “M-Class.” The VC2211M satisfies European safety standards for occupational health protection by effectively capturing dust, including silica, wood, and filler dust, with an efficiency of 99.9%.
Q: Can this vacuum pick up both wet and dry materials?
Indeed. Because of its dual-purpose design, the VC2211M can hoover both liquids and dry material. Before changing modes, always take out or change the filter bag and make sure the filter type is correct.
Q: What type of motor does it use?
The VC2211M has a strong 1,050W motor with a long service life, minimal noise, and great suction efficiency.
Q: Does the vacuum have an automatic filter cleaning system?
Indeed. Push & Clean semi-automatic filter cleaning is a feature of the VC2211M. By cleaning the filter element without completely opening the machine, this feature aids in maintaining suction power.
Q: What type of filters are used in the VC2211M?
It employs disposable fleece filter bags for dry use and a washable PET fleece filter cartridge. Remove the bag and make sure the filters and float valve are dry and seated correctly for wet applications.





























