Ronix 7531 F30 Electric Brad Nailer

Safety Instructions
- Read this instruction manual and the charger instruction manual carefully before use.
- This flashlight is not waterproof. Do not use it in damp locations.
- Do not expose it to rain or snow. Do not wash it in water.
- Do not touch the inside of the flashlight head with tweezers, metal tools, etc.
- Do not touch the battery terminals with any conductive material.
- Avoid storing the battery cartridge in a container with any metal objects, such as nails, coins, etc.
- Never expose the battery cartridge to flames, fire, or great heat.
- Breakage may cause the release of injurious material.
- If operating time has become excessively shorter, stop operating immediately.
- It may result in a risk of overheating, possible burns, and even an explosion.
- Be careful not to drop, shake, or strike the battery.
- When the tool is not in use, always switch off and remove the battery cartridge from the tool.
- Do not give the tool a shock by dropping, striking, etc.
- Do not expose the light to the eyes continuously. It may hurt them.
- Do not cover or clog the lit tool with cloth or carton, etc. It may create a risk of fire.
Part List
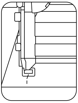
Installing Staples
Make sure the stapler is powered off before installing.
- Press down the magazine latch and make it move back.

- Put down the nail and staples in the magazine.

Closed the magazine, making sure it is in the right position.
For similar stapler models and detailed instructions, you can also check the Ronix 7514 Electric Stapler Nail Gun Instruction Manual.
Operation
If you want to use the tools, please pay attention.
- Check the power switch, and turn the power switch to the” off” position. (used before)

- Connect the power to the wall switch or power socket.
- Please move the power switch to the “I” position. The indicator light will light up.

- Put the nails/staples in the magazine. And close the magazine.

- Point the nail gun at a wooden surface

- Press the switch and shoot the nails or staples at the right position.

- If your work is finished, please move the power switch to the” off” position, and the indicator light will turn off.

- Disconnect the power, and open the magazine to take out the staples or nails.
Failure Recovery
Clare, the be jam nails or staples, make sure the machine is turned off before the following works.
- Remove 3pcs of screw from the head

- Remove the nails or staples that may cause a jam.

Electric Stapler
- An electric stapler is not a toy, so put it out of children’s reach.
- An electric stapler misoperation may cause unexpected personal injury
- Do not point the electric stapler at yourself or other people.
- Do not turn on the electric stapler unless you are in and safe environment.
- Please turn off the power when you clean the electric stapler.
- Do not use the electric stapler wire for other machines, may cause electroshock or fire.
Specifications
- Model 7531
- Power 2200W
- Voltage 220-240V
- Frequency 50-60Hz
- Nb of Shots/Min 35Shots/Min
- Maximum Magazine Capacity 100
- Max Nail Length 10-30mm
- Gauge 18Gauge
- Weight 1.36Kg
- Includes Hex. Wrench M3, Hex.Wrench M4, Blade
Environmental Instructions
- Dispose of cardboard packaging and polyethylene (PE) bags in the appropriate containers for separate collection of municipal waste according to their description.
- If there are batteries in the device, remove them and separately return them to the collection and storage facility. Return the used device to a suitable collection and storage facility, as the hazardous substances in it may pose a threat to health and the environment.
- Waste electrical equipment is waste that contains substances harmful to humans, animals, and the environment.
- These substances can lead to contamination of the soil, water, or air, and through this they can get into the human body and lead to numerous health ailments, such a vision, hearing, and speech disorders; they can also lead to kidney, liver, and heart damage, and cause skin diseases.
- Harmful substances can also have adverse effects on the respiratory and reproductive systems and lead to cancerous changes. Consumption of plants growing on the contaminated soils, and products made from them, may risk the above-mentioned health effects.
- Do not dispose of the device in the municipal waste container!!! Service: If you wish to purchase spare parts or report any complaints, please contact directly with the seller who issued the receipt directly.
Customer Support
- Address: Lyoner Str. 36 60528 Frankfurt am Main
- Tel:+49 69 310 900 66
- Website: www.ronixtools.com
FAQs
Q: Is the nailer corded or cordless?
Because it is corded electric, the 7531 F30 needs a typical household power source. Model numbers for cordless versions would be different. Because it is corded electric, the 7531 F30 needs a typical household power source. Model numbers for cordless versions would be different.
Q: Can the nailer fire in sequential mode?
Indeed. Check the handbook to see if your model enables single sequential firing, which some electric brad nailers offer to increase accuracy.
Q: Can I use the nailer vertically or upside down?
Yes, but to avoid nail jams or misfeeds, don’t fire quickly upside-down. Observe the manufacturer’s instructions at all times.
Q: Can I use the nailer on MDF, plywood, or particleboard?
Indeed. To prevent splitting or excessive penetration, make sure the nail length and depth are suitable.
Q: Is there a warranty for the Ronix 7531 F30?
Indeed, a limited manufacturer’s guarantee for flaws in the materials or workmanship is typically included. For precise terminology, consult the handbook.
Q: Can the nailer be repaired if it stops working?
Indeed. It is frequently possible to resolve minor problems like blocked nails or malfunctioning triggers. For internal electrical or motor problems, get in touch with authorized Ronix service centres.
Q: Can the tool be used for furniture assembly?
Indeed. With its clean and accurate nailing, the 7531 F30 is perfect for light woodworking, trim, and cabinetry tasks.
Q: Can I replace the driver blade myself?
Indeed. After replacing the nailer, always unplug it first, adhere to the manual’s recommendations, and test on scrap material.













