Dometic NRXD50 46L Compressor Referigerator
Safety instructions
- Installation and removal of the refrigerator may only be carried out by qualified personnel.
- Installation in washrooms and areas exposed to water must be performed by a qualified technician.
- Do not operate the refrigerator if it is visibly damaged.
- When positioning the refrigerator, ensure the supply cord is not trapped or damaged.
- Do not touch exposed cables with your bare hands.
- Keep naked flames and potential ignition sources away from the refrigerator.
- Ventilate the room well. Switch off the refrigerator.
- For refrigerators with flammable refrigerant.
- The refrigeration circuit contains a small quantity of an environmentally friendly but flammable refrigerant.
- For refrigerators with flammable refrigerant: Do not use or store the refrigerator in confined spaces with no or minimal air flow.
- Do not open the refrigerant circuit under any circumstances.
- Do not store any explosive substances, such as aerosol cans with propellants, in the refrigerator.
- Children aged from 3 to 8 years are allowed to load and unload the refrigerator.
- Cleaning and user maintenance shall not be made by children without supervision.
- Children must be supervised to ensure that they do not play with the refrigerator.
- Do not use mechanical devices or other means to accelerate the defrosting process, other than those recommended by the manufacturer.
- Do not open or damage the refrigerant circuit under any circumstances.
Related documents
Find the installation manual online.
- Visit: qr.dometic.com/bfgppU
- Scan

Scope of delivery
- Compressor refrigerator
- Drain elbow
- Fixing cap
- Short operating manual
- Operating manual (online only)
- Installation manual
Accessories
Available as accessories (not included in the scope of delivery):
Intended use
- Installation in caravans, motor homes, boats, and trucks
- Cooling and storing food
- Storing prefrozen food
- Indoor use
- NRXD0050S, 0060S only: Outdoor use on boats*
- RXD0050C, 0060C only: When used on boats, the device shall be installed in a dayroom area and not open deck.
- Storing medications
- Storing corrosive substances or substances that contain solvents
- Quick-freezing food
Use
- The frozen compartment is suitable for storing pre-frozen food, storing or making ice cream, and making ice cubes. It is not suitable for freezing previously unfrozen food.
- The refrigerator is intended for installation in a piece of cabinetry or an installation niche.
- Optimum cooling performance is provided at ambient temperatures between 16 °C … 43 °C.
- This product is only suitable for the intended purpose and application in accordance with these instructions.
- This manual provides information that is necessary for the proper installation and/or operation of the product.
- Poor installation and/or improper operation or maintenance will result in unsatisfactory performance and a possible failure.
- The manufacturer accepts no liability for any injury or damage to the product resulting from.
- Incorrect installation, assembly, or connection, including excess voltage
- Incorrect maintenance or use of spare parts other than the original spare parts provided by the manufacturer.
- Alterations to the product without express permission from the manufacturer
- Use for purposes other than those described in this manual
- Dometic reserves the right to change product appearance and product specifications.
Description of the device
- Compressor
- Drawer divider (vertical)
- Drawer divider (horizontal)
- Door top shelf
- Control panel with display
- Frozen compartment
- Door latch for ventilation
- Decorative drawer side panel

- Tray

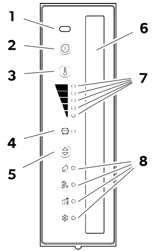
Control and display elements
- IR door opening sensor
- ON/OFF button
- Cooling level setting button
- Compressor and error indicator LED
- Operation mode button
- Interior lighting
- Cooling level indicator LEDs
- Cooling Level 5
- Cooling level 4
- Cooling level 3
- Cooling level 2
- Cooling level 1
- Operation mode indicator LEDs

Compressor and Error Indicator LED
- The compressor and error indicator LED displays the operating status of the compressor or indicates an error:
Operation mode Indicator LEDs
The operation mode indicator LEDs display the following setting options:

Operation
- When using the refrigerator for the first time, there may be a mild odor that will disappear after a few hours. Air out the living space well.
- The cooling capacity can be affected by:
- The ambient temperature (e.g., when the vehicle is exposed to direct sunlight).
- The amount of food to be refrigerated.
- Park the vehicle so that it is level, especially when starting up and filling the refrigerator before setting off on a journey.
Adjusting the Door Latch
- The door latch on the top of the refrigerator can be adjusted to regulate the closing width of the drawer.
- With the drawer closed and locked, try to open the drawer without using the handle by pulling on the sides. Measure how far the door can be pulled open.
- If the drawer opens or the opening gap is greater than 5 m a, adjust the door latch position until the opening gap is in the range 2 … 5 mm.
Storing Food
- If the refrigerator is exposed to an ambient temperature below 10 °C for an extended period of time, regulation of the frozen compartment temperature can no longer be guaranteed.
- That may cause the temperature of the frozen compartment to increase and the stored goods to be defrosted.
- Do not keep carbonated drinks in the frozen compartment.
- To avoid food waste, note the following:
- Keep temperature fluctuation as low as possible.
- Only open the refrigerator as often and for as long as necessary.
- Store the food in such a way that the air can still circulate well.
- Adjust the temperature according to the quantity and type of the foodstuff.
- Store the different food types as shown in the figures.
- Foodstuffs can easily absorb or release odor or taste.
- Always store foodstuffs covered or in closed containers/ bottles.
- Store food as shown.

Saving energy
-
- Only open the refrigerator often and for as long as necessary.
- Allow warm food to cool down first before placing it in the device to keep cool.
- Defrost your refrigerator as soon as a layer of ice forms.
- Avoid unnecessarily low temperature settings.
- For optimal energy consumption, position the shelves and drawers according to their position on delivery.
- On a regular basis, ensure the door seal still fits properly.
- Clean dust and dirt from the condenser at regular intervals.
Opening the Refrigerator
-
- To open the refrigerator, proceed as shown.

- To open the refrigerator, proceed as shown.
Closing and Securing the Refrigerator
- If the door is not secured correctly, carefully push on the top and bottom of the door until it is secured in place.
- The refrigerator door has a latching mechanism, which is also used to protect it during transport.
NRXD0050C, 0060C
- Press the door shut until you clearly hear it click at the top.

NRXD0050S, NRX0060S
- Press the door shut until you clearly hear it click at the top and bottom.

- The door is now closed and secured.
Switching on and off
- To switch on, press and hold the button once for at least 2 seconds.
- The refrigerator switches on with the last selected cooling level setting and operation mode.
- To switch off, press and hold the button for at least 2 seconds.
Setting the Operation Modes
- When using the ECO, PERFORMANCE, FREEZER, or WINTER mode, the system stays in this mode until further changes.
- To set the operation mode, press the button repeatedly until the operation mode indicator LED for the desired operation mode lights up.
ECO Mode
- With the ECO mode activated, the refrigerator operates with reduced energy consumption at cooling levels 1 – 3.
- The operation mode indicator LED for the ECO mode ( ) and the selected cooling level indicator LED light up.
Quiet Mode
- With the QUIET mode activated, the refrigerator operates with a reduced noise level during cooling
levels 1 – 4. - The QUIET mode is not available if the refrigerator is running in FREEZER mode.
- When using the QUIET mode, the refrigerator will stay in this mode for 8 h and then return to the previously selected mode (ECO or PERFORMANCE mode).
- The operation mode indicator LED for the QUIET mode ( ) and the selected cooling level indicator LED light up.
Performance Mode
- With the PERFORMANCE mode activated, the refrigerator operates in standard mode at cooling levels 1 – 5.
- The operation mode indicator LED for the PERFORMANCE mode ( ) and the selected cooling level indicator LED light up.
Freezer Mode
- With the FREEZER mode activated, the refrigerator compartment is cooled up to – 6 °C.
- Remove the frozen compartment for optimum use of the FREEZER mode function.
- With the frozen compartment removed, the target temperature of – 6 °C is reached much faster, and the entire interior of the refrigerator can be cooled down to – 6 °C.
- The operation mode indicator LED for the FREEZER mode ( ) and all cooling level indicator LEDs light up continuously.
- To set the cooling level, press the button repeatedly until the desired cooling level is reached.
Repositioning the drawer dividers
- The drawer dividers and the tray can be removed and repositioned as required.
- To reposition the drawer dividers and the tray as desired, proceed as shown.

Removing the frozen compartment
- Close the frozen compartment door to remove the frozen compartment.
- Grasp the frozen compartment by the bottom. Do not pull on the frozen compartment door.
- Store the frozen compartment in a dry and safe place.
- To remove the frozen compartment, proceed as shown.

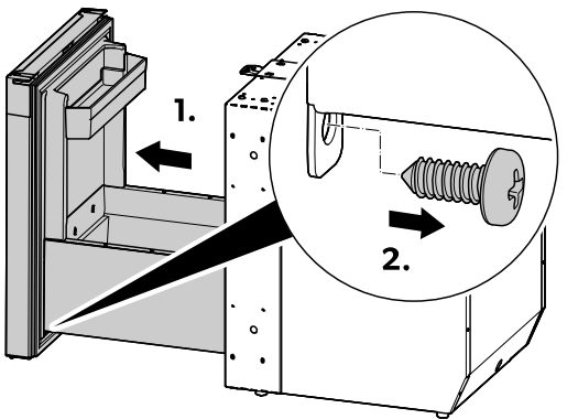
Detaching and inserting the drawer
- Unload the drawer before detaching the drawer.
- Pull the drawer out completely and loosen the screws behind the door on the side panel on both sides (2).

- Remove the side panels. To do this, push the first side panel towards the cabinet to release it from the catch hooks.
- Repeat the process on the other side with the second side panel.

- Push the lever on one side upwards, nd at the same time, push the lever on the other side downwards, and carefully pull out the drawer.

Inserting the drawer
- Pull one of the cabinet rails outwards to its middle and push the other cabinet rail all the way inwards.

- Align the groove of the extended cabinet rail with the guide of the corresponding drawer rail. Press the drawer rail onto the cabinet rail until the rails are connected and slide easily.

- Carefully slide the drawer inwards on the connected rails and align the groove of the retracted cabinet rail with the guide of the corresponding drawer rail. Press the drawer rail onto the cabinet rail until the rails are connected and slide easily.

- Slide the drawer open and closed several times to ensure that it slides easily.
- Attach the side panels. To do this, place the first side panel in position and press it onto the catch hook. Repeat the process on the other side with the second side panel.

- Fasten the screws behind the door on the side panel on both sides.

Cleaning and maintenance
- Always disconnect the refrigerator from the energy supply before cleaning and maintenance.
- Clean the interior and exterior of the refrigerator Dometic NRXD50 46L Compressor Referigerator regularly with a damp cloth as soon as it becomes dirty. Wipe the refrigerator dry with a cloth aer cleaning.
- Check the condensate drain regularly.
- Clean the condensate drain when necessary. If it is blocked, the condensate collects on the bottom of the refrigerator.
- Clean dust and dirt from the condenser regularly with a damp cloth.
- The light source can only be replaced by the manufacturer, a service agent, or a similarly qualified person to avoid hazard.

Refrigerant circuit
- The refrigerant circuit is maintenance-free.
Defrosting the Refrigerator
- To defrost the refrigerator, proceed as shown.

Positioning the refrigerator door into storage position
- Defrost the refrigerator (see Defrosting the refrigerator on page 22).

- Put the refrigerator door into storage position as shown.
Technical Data
This device complies with UN ECE Regulation R10.

Troubleshooting
To safely operate 12 V consumer units in the caravan while driving, it must be ensured that the towing vehicle provides sufficient voltage. On some vehicles, the battery Dometic NRXD50 46L Compressor Referigerator management system may automatically switch off the consumer units to protect the battery. Ask your vehicle manufacturer for more information.


Error indication
- All errors are indicated by the error indicator LED flashing orange.
- The number of flashes depends on the type of fault.
- Each flash lasts for one quarter of a second.
- Aer the sequence of flashes pause follows.
- The sequence for the fault is repeated every four seconds.
- In ECO, PERFORMANCE, and FREEZER mode, an additional beep sounds.

Warranty
Refer to the sections below for information about Dometic NRXD50 46L Compressor Referigerator warranty and warranty support in the US, Canada, and all other regions.
Disposal
Place the packaging material in the appropriate Dometic NRXD50 46L Compressor Referigerator recycling waste bins, wherever possible. Consult a local recycling center or specialist dealer for details about how to DOMETIC SB27150 90 Degree Bezel Kit Installation dispose of the product in accordance with the applicable disposal regulations.
Customer Service
SPAIN
- Address: Dometic Spain S.L. Avda. Sierra del Guadarrama, 16 E-28691 Villanueva de la Cañada Madrid
- Call: 8 +34 900 100 245.
- Email: info@dometic.es
GERMANY
- Address: Dometic WAECO International GmbH Hollefeldstraße 63 • D-48282 Emsdetten
- Call: 9 +49 (0) 2572 879-195
- Email: info@dometic-waeco.de
FRANCE
- Address: Dometic SAS ZA du Pré de la Dame Jeanne B.P. 5 F-60128 Plailly
- Call: +33 344633518
- Email: vehiculesdeloisirs@dometic.fr
AUSTRALIA
- Address: Dometic Australia Pty. Ltd. 1 John Duncan Court • Varsity Lakes QLD 4227
- Call: 8 +61 7 55076001|
- Email: sales@dometic-waeco.com.au
FAQs
What power sources does the NRXD50 support?
This device is perfect for solar systems and automobiles because it runs on 12V DC power.
Can the NRXD50 be used indoors and outdoors?
It is appropriate for both indoor and outdoor settings; however, it needs to be shielded from severe weather and direct rain. Make sure there is adequate ventilation at all times.
What is the recommended operating temperature range?
Depending on the user’s preferences and the outside temperature, the NRXD50 may effectively chill down to -18°C (0°F), making it appropriate for freezing and refrigeration.
How do I adjust the temperature settings?
To adjust the refrigerator’s temperature, use the digital control panel. It enables accurate switching between freezer and refrigerator modes.
Does the NRXD50 require ventilation for proper operation?
Indeed, sufficient ventilation surrounding the compressor area is necessary to guarantee effective cooling and avoid overheating.
How do I clean the NRXD50 refrigerator?
To clean, use a gentle cloth and a light detergent. Steer clear of abrasive solvents and cleaners.


