Close Menu
onyxguides.comonyxguides.com

    Subscribe to Updates

    Get the latest creative news from FooBar about art, design and business.

    What's Hot

    What Is A Mirrorless Cameras

    April 13, 2026

    Camera a7S SONY

    April 13, 2026

    NEBULA D2040R Wireless Satellite Speaker Instruction Guide

    April 13, 2026
    Facebook X (Twitter) Instagram
    onyxguides.comonyxguides.com
    Facebook X (Twitter) Instagram Pinterest
    • Home
    • About us
    • Terms & Conditions
    • Privacy Policy
    • FAQs
    • Contact us
    onyxguides.comonyxguides.com
    Home » Dometic SHX97606 XTREME NFB Tilt Helm User Instructions
    DOMETIC

    Dometic SHX97606 XTREME NFB Tilt Helm User Instructions

    By Gabriel SmithOctober 27, 2025No Comments11 Mins Read
    Facebook Twitter Pinterest LinkedIn Tumblr WhatsApp Telegram Email
    Dometic-SHX97606-XTREME-NFB-Tilt-Helm-featured
    Share
    Facebook Twitter LinkedIn Pinterest Email

    Dometic SHX97606 XTREME NFB Tilt Helm

    Dometic-SHX97606-XTREME-NFB-Tilt-Helm-product

    Safety instructions

    Safe operation of the product relies on correct installation and maintenance. Safe operation also depends on the boat operator’s good judgment, boating knowledge, and skills.

    • Know and obey all applicable federal, state, and municipal laws and regulations that govern boating in your region.
    • Take a boating safety course.
    • Never operate a boat while under the influence of drugs or alcohol.
    • Wear a personal flotation device (PFD) that is approved for use by the proper agency in your region.
    • Attach the engine shut-off lanyard to your PFD.

    Related documents

    • Find the drill template online at qr.dometic.com/bfowCD.

    Dometic-SHX97606-XTREME-NFB-Tilt-Helm-figure-2

    Explanation of symbols
    • A signal word will identify safety messages and property damage messages, and will also indicate the degree or level of hazard seriousness.
    Scope of delivery

    In addition to this kit, you will need the following parts to complete the tilt system:

    • Sport or Sport Plus tilt mechanism
    • SSCX64xx steering cable
    • Engine connection kit
    • Steering wheel, maximum wheel diameter 16 in (406.4 mm), maximum wheel dish 5 in (127 mm)

    Target groups

    The mechanical and electrical installation and setup of the device must be performed by a qualified technician who has demonstrated skill and knowledge related to the construction and operation of marine equipment and installations, and who is familiar with the applicable regulations of the country in which the equipment is to be installed and/or used, and has received safety training to identify and avoid the hazards involved.

    Intended use

    The Dometic Xtreme NFB (No Feedback) Tilt Helm, referred to as the “steering system” or “product,” is a mechanical steering solution for boats powered by outboard engines. This product includes a clutch mechanism that stops engine torque from affecting the steering wheel.

    This feature helps reduce operator fatigue by removing the need to constantly fight against the wheel. The helms, cables, and all other parts of this system are specifically designed and meant to be used only in marine boating applications.

    This product is only suitable for the intended purpose and application in accordance with these instructions.  This manual provides information that is necessary for the proper installation and/or operation of the product.

    Poor installation and/or improper operating or maintenance will result in unsatisfactory performance and a possible failure. The manufacturer accepts no liability for any injury or damage to the product resulting from:

    • Incorrect installation or assembly
    • Incorrect maintenance or use of spare parts other than the original spare parts provided by the manufacturer
    • Alterations to the product without express permission from the manufacturer
    • Use for purposes other than those described in this manual

    Installation

    • Failure to obey the following warnings could result in property damage, serious injury, or death.
    • All steering components must be compatible with and rated for the engine installed on the boat.
    • Do not substitute any part of the system without written authorization from the manufacturer.
    • Do not use a wheel-mounted trim switch with a coiled cord. The cord could wrap around the steering wheel and inhibit the steering.
    • Do not connect any electric ground wires to the helm. Doing so can cause an electrolytic reaction in the steering system, which might lead to system failure or significantly shorten its lifespan.
    • Never take helms apart for any reason. If they are not put back together correctly, it could cause the entire system to fail. Taking the helm apart voids the warranty.
    • To prevent heavy steering loads and to get the best steering performance, adjust the outboard motor, tilt position, or trim tabs as instructed in the motor manufacturer’s operation manual.
    • When replacing a steering system, stick with the type (rotary or rack) that the boat manufacturer originally installed. Never switch your steering from a dual cable to a single cable system.

    Preparing the Location

    Dometic-SHX97606-XTREME-NFB-Tilt-Helm-figure-3

    1. Locate the position for the steering wheel on the console or dashboard.
    2. Position the template on the console or dashboard in the chosen spot.
    3. Drill three 5/16 in diameter holes.
    4. Drill one 2-7/8 in diameter hole.

    Mounting

    The helm assembly can be installed to allow cable routing on either the port or starboard side. Whenever possible, steering cables should be routed to the starboard side of the boat to help balance the engine’s torque.

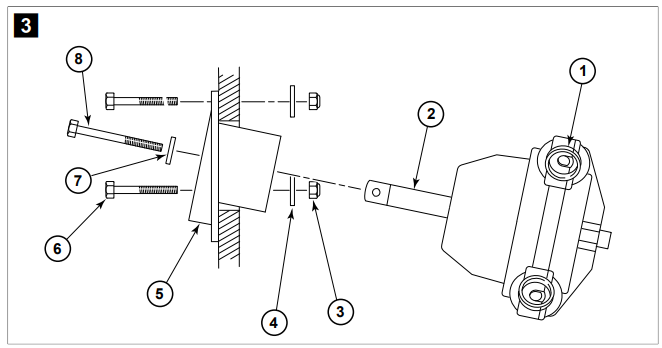
    Dometic-SHX97606-XTREME-NFB-Tilt-Helm-figure-5

    1. Cable entry spigot
    2. Helm shaft
    3. Locknut*
    4. OD flat washer*
    5. Helm mounting plate*
    6. 2-1/8 in hex bolt*
    7. Washer
    8. 2-3/4 in hex bolt
    9. Tighten the hex bolts securely.
    10. Insert the helm shaft into the hole in the mounting plate.
    11. Use the hex bolt and washer to secure the helm to the helm mounting plate.
    Installing the tilt mechanism and steering wheel
    • Refer to the instructions included with the tilt mechanism hardware kit.
    • Follow these instructions to install the tilt mechanism and attach the steering wheel.
    Routing the steering cable
    • Do not bend the cable to a radius smaller than 8 in (203.2 mm).
    • Do not bundle cables together with electrical wiring.
    • Do not let cables rest on sharp edges, as this could cause chafing.
    • Select a path that has the least number of bends, ensuring the bends are as wide as possible.
    • Sharp or frequent bends can make steering difficult and cause the cable to wear out too quickly.
    • When you need to pass through a bulkhead, you must create a hole with a diameter of 1.5 in (38.1 mm).
    • Loosely clamp or tie cables to provide support at regular intervals.

    Installing the steering cable

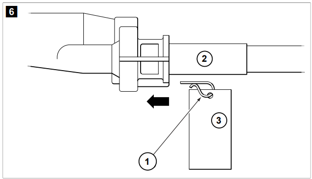
    1. Position the steering wheel as shown in Fig.
    2. Remove the pin from the cable entry spigot of the helm. Do not remove the tag from the pin.
    3. Remove the protective sleeve from the cable end. Be careful to keep the lubricated cable end clean and free from any dirt.
      1. Cable
      2. Cable end fitting
      3. Upper entry spigot
      4. Pin
      5. Spent travel tube
    4. Feed the cable into the upper entry spigot until the cable touches the internal gears.
    5. Turn the steering wheel counterclockwise to pull the cable completely into the helm.
    6. Continue turning the wheel until the cable’s end fitting goes into the entry spigot, and the wheel stops turning.
    7. Turn the steering wheel all the way in the opposite direction until the steering wheel stops and cannot turn any further.
    8. Check that the cable end fitting is securely held inside the entry spigot.
    9. Replace the pin as shown in Fig. on page 6, ensuring that the pin is completely seated.
    10. Push on the cable to make sure it is fully inserted.
    11. Turn the steering wheel all the way to both ends of its rotation.
    12. Check that the cable fitting stays secure in the entry spigot and make sure there is no binding when steering.
    13. Feed the spent travel tube over the exposed cable end. Kee is pushing the spent travel tube until you hear a click, which means it is locked into place in the helm spigot.
    14. Insert the pin as shown in the figure, ensuring that the pin is fully seated.
    15. Rotate the steering wheel several times from one stop to the other, and observe how the steering cable output ram moves.

    Connecting to the engine

    • Coat the output ram end of the steering cable with high-quality waterproof marine grease before placing it into the support tube.
    • The coupler nut has a locking ring within its threads. Ensure the nut is tightened completely so that its internal plastic locking ring is properly engaged. If this nut is not fully tightened, it will cause too much play in the steering system. Attach the cable output ram to the engine tiller arm following the instructions provided in the connection kit.
    • Ensure that the cable’s output end is not bent Dometic SHX97606 XTREME NFB Tilt Helm during installation into the engine. If needed, remove the engine from the boat.
    Engine-mounted steering systems
    1. Slide the output ram through the engine support tube.
    2. Thread the cable coupler nut completely onto the support tube.
    Boat-mounted steering systems
    • Attach the cable to the boat and the engine, following the instructions provided with the connection kit.

    Operation

    • If the steering cable feels stiff when used, it is not safe to operate.
    • Replace the cable immediately.
    • Tighten or replace any loose or missing Dometic SHX97606 XTREME NFB Tilt Helm fasteners before operating the boat.
    • Do not cover any cracks in the steering cable with tape or other sealants.
    • Doing so might lead to the cable failing suddenly and without warning.

    Cleaning and Maintenance

    • Keep all moving parts clean and free from salt buildup or other foreign materials.
    • These can affect how they work and may cause steering problems.
    • Do not use acetone or cleaners that contain ammonia, acids, or other corrosive ingredients on any steering components.
    • Some cleaning products made for fiberglass hulls can strongly corrode stainless steel shafts.
    • If you use a hull cleaning agent, be careful not to spray the cleaning agent on the steering system.
    • If any spray gets on the steering system, rinse the spray off right away with fresh, clean water.
    Maintenance Schedule
    Interval Task
    After every use Rinse the steering system thoroughly with fresh, clean water.
    After a few hours running Inspect all fasteners and the entire steering system to ensure they are secure and in good condition.
    Periodically •Apply waterproof marine grease to lubricate the cable output ram and the engine tilt tube.
    Disconnect the cable and clean both the support tube and the telescopic end of the cable thoroughly. After cleaning, apply a waterproof marine grease to lubricate them.
    •Check for signs of corrosion. Replace any parts that show corrosion. When replacing hardware, always use self-locking hardware, just like the original parts.
    •Inspect all fasteners and the entire steering system to ensure they are secure and in good condition.

    Warranty

    Refer to the sections below for information about warranty and warranty support in the US, Canada, and all other regions.

    Disposal

    Place the packaging material in the appropriate recycling waste bins, wherever possible. Consult a local recycling center or specialist dealer for details about how to DOMETIC SB27150 90 Degree Bezel Kit Installation dispose of the product in accordance with the applicable disposal regulations.

    Customer Service

    SPAIN

    • Address: Dometic Spain S.L. Avda. Sierra del Guadarrama, 16 E-28691 Villanueva de la Cañada Madrid
    • Call: 8 +34 900 100 245.
    • Email: info@dometic.es

    GERMANY

    • Address: Dometic WAECO International GmbH Hollefeldstraße 63 • D-48282 Emsdetten
    • Call: 9 +49 (0) 2572 879-195
    • Email: info@dometic-waeco.de

    FRANCE

    • Address: Dometic SAS ZA du Pré de la Dame Jeanne B.P. 5 F-60128 Plailly
    • Call: +33 344633518
    • Email: vehiculesdeloisirs@dometic.fr

    AUSTRALIA

    • Address: Dometic Australia Pty. Ltd. 1 John Duncan Court • Varsity Lakes QLD 4227
    • Call: 8 +61 7 55076001|
    • Email: sales@dometic-waeco.com.au

    FAQs

    What is the Dometic SHX97606 XTREME NFB Tilt Helm used for?

    The SHX97606 is a mechanical tilt helm designed for use in small to mid-sized boats. It has No FeedBack (NFB) technology for safer, smoother steering and lets the operator change the steering wheel angle.

    What does “NFB” (No FeedBack) mean?

    The steering lock-out function, known as NF, B, stops the steering wheel from turning due to engine torque. This enhances control and comfort at greater speeds by enabling hands-off steering without the wheel suddenly spinning.

    How many tilt positions does the SHX97606 offer?

    The operator can set the wheel to the most comfortable driving angle thanks to the helm’s five tilt options.

    What steering systems is the SHX97606 compatible with?

    Dometic (previously SeaStar/Sierra/Teleflex) XTREME mechanical steering systems, namely the SSCX64 XTREME cables and SH5094P/SH5095P helm platforms, are compatible with this tilt helm.

    Can I install the SHX97606 on my existing boat?

    Indeed, it can be used to upgrade or replace current NFB systems that are compatible. But always make sure your bezel kit and steering cable work together.

    Do I need special tools for installation?

    For the majority of installs, simple hand tools are adequate; however, a torque wrench, thread locker, and marine-grade fasteners are advised. Pay close attention to the torque requirements listed in the handbook.

    What is the maximum horsepower rating supported?

    Based on the cable and helm combination, the SHX97606 is normally rated for usage with single outboard engines up to 150 HP. For specific boat and engine combinations, always refer to Dometic’s published instructions.

    Can I use this helm with dual station steering setups?

    No. The SHX97606 is exclusively intended for mechanical systems with a single station. Special mechanical or hydraulic arrangements are needed for dual station systems.

    Dometic SHX97606 XTREME NFB Tilt Helm installation guide Dometic SHX97606 XTREME NFB Tilt Helm maintenance guide Dometic SHX97606 XTREME NFB Tilt Helm manual Dometic SHX97606 XTREME NFB Tilt Helm operation manual OnyxGuides Manual User Manual
    Share. Facebook Twitter Pinterest LinkedIn Tumblr Email
    Gabriel Smith

    Related Posts

    Sony ILCE-6700 Interchangeable Lens Digital Camera User Guide

    December 7, 2025

    Bose MA12 Panaray Modular Line Array Loudspeaker User Manual

    December 4, 2025

    Bowers & Wilkins Px8 Wireless Headphones User Manual

    December 4, 2025

    Sonos Arc Black Voice Control Ultra Soundbar User Manual

    December 4, 2025

    JANAM GT1 Self Mobile Entry Head Unit Instruction Manual

    December 4, 2025

    Ronix 1250 Carpet Vacuum Cleaner Instruction Manual

    December 4, 2025
    Add A Comment

    Comments are closed.

    Don't Miss
    Other

    What Is A Mirrorless Cameras

    April 13, 2026

    Introduction Mirrorless cameras are really cool because they do not have a mirror and optical…

    Camera a7S SONY

    April 13, 2026

    NEBULA D2040R Wireless Satellite Speaker Instruction Guide

    April 13, 2026

    AURZEN BOOM mini 4 Inch 1 Smart Projector Instruction Guide

    April 13, 2026
    Stay In Touch
    • Facebook
    • Twitter
    • Pinterest
    • Instagram
    • YouTube
    • Vimeo

    Subscribe to Updates

    Subscribe to Updates

    Follow us

    Facebook X-twitter Instagram Pinterest

    © 2025 All rights reserved Onyx Guide.