INSIGNIA NS-FWM45W3 4.5 Cu. Ft. Load Washer User
Safety Instructions
- To reduce the risk of fire, electric shock, or injury to persons when using or installing the washer, read and obey all safety information provided in the User Manual & Installation Instructions that accompanied the washer.
- Do not install or store this washer in an area where it will be exposed to dripping water or outside weather conditions. See the Choosing a location section in the User Guide.
- This washer must be properly grounded and installed as described in these steps and the User Guide.
- Electrical service to the washer must conform with local codes and ordinances and the latest edition of the National Electrical Code, ANSI/NFPA 70.
Package Content
- Hose screen washers (2)
- Drain hose guide (1)
- Nylon tie (1)
- User Guide and Quick Setup Guide
You’ll need
- Level
- Channel-lock pliers
- Adjustable wrench or 9/16 in. (14.3 mm) open-end wrench
- Water hoses (2) (not included)
- Socket wrench with 1/2 in. (12.7 mm) ratchet or adjustable wrench
Removing the Hardware
- Place the washer within 4 feet (1.3 meters) of its final location, then use an adjustable or 1⁄2” socket wrench to remove the following from the back of the washer.
- 4 shipping bolts
- 4 plastic spacers (including rubber grommets)
- 4 power cord retainers
- Insert the hole caps (attached next to the bolt holes on the back of the washer) into the bolt holes after the shipping bolts, spacers, and retainers have been removed.
Connection
- Before connecting the hoses, make sure that there is a rubber washer in both of the hoses.
- Install the hose screen washers (included) by inserting them into the free ends of the inlet hoses with the protruded side facing the faucet.
- Connect the water hose (not provided) ends to the hot and cold water faucets tightly by hand, then tighten another 2/3 turn with pliers or a wrench.
- Place the unconnected end of the hoses into a bucket, then turn on the faucets connected to the water supply hoses for 10 or 15 seconds to remove any foreign substances. Turn off the faucets.
Hoses to Shower
- Connect the water hoses to the water intake connections on the back of your washer. Note: The water supply hose connected to the hot water faucet must be connected to the hot water (H) supply intake, and the supply hose connected to the cold faucet must be connected to the cold (C) water supply intake.
- Turn the water on and check for leaks.
Drain Hose
- Attach the drain hose guide (included) to the end of the drain hose.
- Place the drain hose in a laundry tub, floor drain pipe, wall, or floor standpipe and secure with the nylon tie (included).
Power Supply
- Make sure that the power is turned off at the circuit breaker/fuse box.
- Plug the power cord into a well-grounded, three-prong, 120V~60Hz approved electrical outlet, protected by a 16-amp fuse or comparable circuit breaker.
- Your washer is grounded through the third prong of the power cord
- Turn the power on.
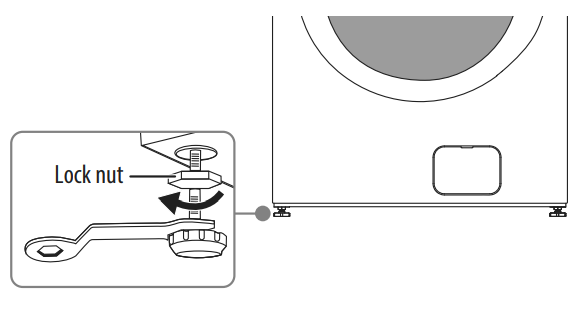
Leveling Washer
- Press the four top corners of your washer. If your washer moves when you press a corner, the leg for that corner needs to be adjusted.
- Place a level on top of the washer.
- Loosen the lock nut on the bottom of your washer, pull the leg down until it touches the floor, then tighten the nut.
- Extend the feet only as much as is necessary. If the feet are extended too much, your washer may vibrate
Running A Test Cycle
- Wash a load of clothes on the Rinse & Spin cycle. Check for leaks and make sure that the washer drains well on the spin cycle.
- When the load is spinning at high speed, make sure that the washer and leveling legs are stable.
- If necessary, adjust the front leveling legs while the washer is in the spin cycle until the washer is level.
Legal notices
FCC Statement
This device complies with Part 15 of the FCC Rules. Operation is subject to the following two conditions: (1) this device may not cause harmful interference, and (2) this device must accept any interference received, including interference that may cause undesired operation.
FCC Caution
Changes or modifications not expressly approved by the party responsible for compliance could void the user’s authority to operate this equipment.
EMC guidance
- Don’t use near active HF Insignia NS-GLSBFSCW1 Glass Scale surgical equipment or the RF shielded room of an ME system for magnetic resonance imaging, where the intensity of EM disturbances is high.
- Use of accessories, transducers, and cables other than those specified or provided by the manufacturer of this equipment could result in increased electromagnetic emissions or decreased electromagnetic immunity of this equipment and result in improper operation.
- Otherwise, degradation of the performance of this equipment could result.
One-Year Warranty
Definitions
The Distributor* of Insignia-branded products warrants to you, the original purchaser of this new Insignia-branded product (“Product”), that the Product shall be free of defects in the original manufacturer of the material or workmanship for one (1) year from the date of your purchase of the Product (“Warranty Period”).
How to obtain warranty service?
If you purchased the Product at a Best Buy retail store location or from a Best Buy online website, please take your original receipt and the Product to any Best Buy store. Make sure that you place the Product in its original packaging or packaging that provides the same amount of protection as the original packaging. To obtain warranty service, in the United States and INSIGNIA NS-FWM45W3 4.5 Cu. Ft. Load Washer User Canada, call 1-877-467-4289. Call agents may diagnose and correct the issue over the phone.
Where is the warranty valid?
This warranty is valid only in the United States and Canada at Best Buy branded retail stores or websites to the original purchaser of the product in the country where the original purchase was made.
Customer Support
- Ph: 1-877-467-4289
- Website: www.insigniaproducts.com
INSIGNIA is a trademark of Best Buy and its affiliated companies. Distributed by Best Buy Purchasing, LLC 7601 Penn Ave South, Richfield, MN 55423 U.S.A.
©2021 Best Buy. All rights reserved.
FAQs
What type of washer is the NS-FWM45W3?
With a 4.5 cu. Ft. capacity, this front-loading, high-efficiency washing machine is ideal for medium-to-large laundry loads.
How many wash cycles does it have?
Normal, Heavy Duty, Delicates, Quick Wash, Whites, Bulky Items, Rinse & Spin, and more are among the 12 preset wash cycles that are included with the washer.
Can I adjust water temperature and spin speed?
Indeed, you may manually modify the water temperature, spin speed, and soil level in the majority of cycles to tailor the wash to your requirements.
Is it Energy Star certified?
The NS-FWM45W3 is Energy Star® certified, which indicates that it uses less energy and less water, and electricity.
How do I clean the washer drum?
To avoid odour and buildup, use the Tub Clean cycle once a month with white vinegar or washing machine cleanser (no laundry inside).
Can I pause the cycle to add clothes after it starts?
Click the Start/Pause button, yes. You can put on clothes after the door unlocks. But if the drum is spinning or the water is too hot, the door won’t open.
What type of detergent should I use?
Make use of liquid or powdered HE (High-Efficiency) detergent. Steer clear of non-HE detergent as it can damage the washer and produce too much suds.
Can I wash king-sized comforters or bedding?
Yes, the 4.5 cu. Ft. capacity can hold heavy items like blankets and king-size comforters, but be careful not to fill the drum to overflowing.