
JANDY CS100 Single Cartridge Pool & Spa Filter

Introduction
The JANDY CS100 Single Cartridge Pool & Spa Filter ensures clean and safe pool water for your family. This manual contains information for the proper installation and operation of the Jandy CS Series Cartridge Filters. Procedures in this manual must be followed exactly.
Safety Instructions
Ensure safe and proper operation by following all guidelines for the JANDY CS100 Single Cartridge Pool & Spa Filter.
- Be sure all air is out of he system before operating or testing the equipment.
- This filter operates under high pressure.
- To avoid this potential hazard, follow all of the instructions in this manual.
- Water pressure for the est must NOT EXCEED 35 PSI.
- Water temperature for test must NOT EXCEED 100°F (38°C).
- Limit test to 24 hours. Aftthe er test, visually check the system to be sure it is ready for operation.
- Use equipment only in a pool or spa installation.
- Maintain the circulation system properly. Replace worn or damaged parts immediately.
Description
The JANDY CS100 Single Cartridge Pool & Spa Filter provides efficient water filtration without the need for sand or diatomaceous earth. Cartridge filters do not require sand or diatomaceous earth as the filter medium. The water will travel through the central filter core towards the bottom of the filter into the lower manifold. Clean water is returned to the swimming pool through the filter outlet port at the tank’s bottom. As debris collects in the filter, the pressure will rise, and water flow to the pool will diminish.
General Requirements
- For the best overall performance, place the system as close to the pool as possible.
- The filter should be located on a level concrete slab so that the orientation of the valve outlets and the pressure gauge is convenient and accessible for the installation and operation of the unit.
- Protect the filter from the weather.
- If fitting a chlorinator and/or any other device into the filtration plumbing circuit, great care must be exercised to ensure that the appliance is installed in accordance with the Manufacturer’s Instructions and any applicable standards that may exist.
- Use Jandy universal unions to connect each component of the water conditioning system for future servicing. All Jandy filters come with these types of fittings. For guidance on housing and fixture placement, see the Jandy H0284300 Wet Niche Fixtures Housing User Manual.
- When performing hydrostatic pressure tests or when testing for external leaks of the completed filtration and plumbing system, ensure that the maximum pressure the filtration system is subjected to does not exceed the maximum working pressure of any of the components within the system..
Installation Instructions
Before proceeding, ensure proper installation of the JANDY CS100 Single Cartridge Pool & Spa Filter according to these guidelines.
Use equipment only in a pool or spa installation. Do not connect the system to an unregulated city water system or other external source of pressurized water producing pressures greater than 35 psi.
Location
- Select a well-drained area, one that does not flood when it rains. Damp, non-ventilated areas should be avoided.
- The filter should be installed on a firm, solid, and level surface or platform to avoid the risk of settlement.
- Do not use sand to level the filter, as the sand will wash away; filter systems can weigh up to 300 pounds.
- Check local building codes for additional requirements. (Ex. Equipment pads in Florida must be on concrete, and equipment must be secured to the pad.)
- Install electrical controls at least five (5) feet from the filter. This will allow enough room to stand away from the filter during start-up.
- Allow sufficient clearance around the filter to permit a visual inspection of the clamp ring.

- Allow sufficient space above the filter to remove the filter lid and filter element for cleaning and servicing.
- Position the filter to safely direct water drainage. Align the air release valve to safely direct purged air or water.
- If the filter is to be installed below the water level of the pool, isolation valves should be installed on both the suction and return lines to prevent backflow of pool water during any routine servicing that may be required.
Preparation
- Check the carton for damage due to rough handling in shipment. If carton or any filter components are damaged, notify the carrier immediately.
- Carefully remove the accessory package. Remove the filter tank from the carton.
- A visual inspection of all parts should be made now.
- Install the pressure gauge and adapter assembly in the threaded hole marked “Pressure Gauge” at the top of the filter.
- Install the air release valve into the threaded opening marked “Air Release” at the top of the filter.

Filter Installation
Basic Pool/Spa Combination Plumbing
- This filter operates under pressure. When the locking ring is properly seated and the filter is operated without air in the water system, this filter will operate in a safe manner.
- If the system can be subjected to higher pressures than the maximum working pressure of the lowest rated component, install an ASME® compliant automatic Pressure Relief Valve or Pressure Regulator in the circulation system.
- Place the filter on the concrete pad, lined up with the inlet and outlet pipes.
- To reduce pressure losses, 2” (minimum) piping is recommended for plumbing the system. Never exceed the manufacturer’s maximum recommended filter flow rates.
- For best efficiency,cy uses the fewest possible number of fittings. This will prevent a restriction of the water flow.
- Make all plumbing connections in accordance with local plumbing and building codes. Filter unions are provided with an O-ring seal. Use silicone-based lubricants on the O-rings to avoid damage. Do not use pipe joint compound, glue, or solvent on union threads.
- Keep piping tight and free of leaks. Pump suction line leaks may cause air to be entrapped in the filter tank or loss of prime at the pump. Pump discharge line leaks may show up as equipment pad leaks or air being discharged through the return lines.
- Support the inlet/outlet pipes independently to prevent any undue strains.
- Install ¼ x 2¼” Stainless Steel Tapcon® screws and tighten.
Locking Ring and Tank Top Assembly Installation
- Be certain the O-Ring is in position in the upper tank half. Lubricating the O-Ring with a silicone-based lubricant will help with installation.
- Place the tank top assembly on the lower housing and firmly seat it into position.
- Locate the removable locking ring and thread it onto the filter by turning it clockwise until it engages with the stop tab on the lower half of the filter tank.
Upper/Lower Tank Assembly
Start-Up and Operation
- Turn off the filter pump and switch off the circuit breaker to the pump motor.
- Check that the filter drain cap and nut are in place and tight.
- Check that the tank locking ring is properly seated and tight.
- Open the pump hair/lint pot lid and fill the pump basket with water to prime the system.
- Replace the pump lid. You may have to do this a few times on new and seasonal start-ups.
- Open the air release valve on top of the filter (do not remove the valve).
- Be sure to open any isolation valves that were installed in the system.
- Stand clear of the filter and start the pump to circulate water through the system.
- Watch the pressure gauge to be sure that the pressure does not exceed 50 psi.
- If the pressure approaches 50 psi, immediately turn the pump off and clean the filter cartridges.
- If the pressure remains high after cleaning the filter, refer to the troubleshooting guide.

Filter Disassembly and Assembly
- Turn off the filter pump and switch off the circuit breaker to the pump motor.
- Open the air release valve on top of the filter tank to release all pressure from inside the tank and system.
- Open the filter tank drain. When the filter tank has drained, close the drain.
- Remove the locking ring by pushing on the locking tab and turning the locking ring counterclockwise.
- Remove the top of the filter. Inspect the tank O-Ring for damage. Clean or replace the O-Ring as necessary.
- Remove the filter element from the tank bottom and clean or replace as necessary.
- Place the new or cleaned filter element into the tank bottom.
- Use a silicone-based lubricant on the new or cleaned O-Ring and place the O-Ring onto the tank top.

Maintenance
- Wash outside of the filter with water or TSP (tri-sodium phosphate) with water.
- Rinse off with a hose. Do not use solvents or detergents to clean the filter; solvents will damage the plastic components of the filter.
- Check pressure during operation at least once a week.
- Remove any debris from the skimmer basket and hair/lint pot on the pump.
- Check the pump and filter for any leaks. If any leaks develop, turn off the pump and call a qualified pool service technician.
- Product safety signs or labels should be periodically inspected and cleaned by the product user as necessary to maintain good legibility for safe viewing.
- Installation of new replacement safety signs or labels should be in accordance with the sign or label manufacturer’s recommended procedure.
Pressure Gauge
- During operation of the filtration system, check the pressure gauge/air release assembly for air or water leaks at least once a week.
- Keep the pressure gauge in good working order. If you suspect a problem with the gauge, Zodiac Pool Systems LLC recommends you call a service technician to do any work on the filter/pump system.
Cleaning the Filter Cartridge
- Turn off the filter pump and switch off the circuit breaker to the pump motor.
- If the filter is installed below the pool level, close any filter isolation valves to prevent flooding.
- Open the air release valve on top of the filter and wait for all air pressure to be released.
- Open the filter tank drain. When the filter tank has drained, close the drain. Place it upright in an area suitable for washing.
- Open filter tank and remove cartridge element, see Section 5.1 “Filter Element Removal”. Place it upright in an area suitable for washing.
- Use a garden hose and nozzle to wash each pleat of the element.
- Replace the cartridge in the filter tank. Inspect the O-Ring for cracks or wear marks. Place the O-Ring back onto the filter tank top. Replace the top of the tank. See Section 3.4 “Locking Ring and Tank Top Assembly Installation”.
- Reopen the isolation valves if they were closed.
- Stand clear of the filter, start the pump, and circulate the water until water sprays out of the air release valve. Close the air release valve. The filter is now back in operating mode.
- Watch the pressure gauge to be sure that the pressure does not exceed 50 psi.
- If the pressure approaches 50 psi, immediately turn the pump off and clean the filter cartridges.
- If the pressure remains high after cleaning the filter, refer to the troubleshooting guide, Section 8, for possible causes and solutions..
Breather Tube Maintenance
When servicing the breather tube, make sure the JANDY CS100 Single Cartridge Pool & Spa Filter is handled carefully to prevent damage.
- Turn off the filter pump and switch off the circuit breaker to the pump motor.
- Loosen the drain plug at the base of the filter to ensure the tank is empty.
- Open the filter tank.
- Check the breather tube for obstructions or debris.
- Reassemble the breather tube. Fully seat the breather tube into the bottom tank.
- Replace the filter locking ring and tank top assembly on the filter and tighten. See Section 3.4 “Locking Ring and Tank Top Assembly Installation”.
- Reopen the isolation valve if they were closed.
- Stand clear of the filter, start the pump, and circulate the water until water sprays out of the air release valve. Close the air release valve. The filter is now back in operating mode.
- Watch the pressure gauge to be sure that the pressure does not exceed 50 psi. If the pressure approaches 50 psi, immediately turn the pump off and clean the filter cartridges. If the pressure remains high after cleaning the filter, refer to the troubleshooting guide, Section 8, for possible causes and solutions.
Winterizing
- Turn off the filter pump and switch off the circuit breaker to the pump motor.
- Open the IR release valve on top of the filter. Do not remove.
- Loosen the drain nut and cap at the base of the filter to ensure that the tank is empty.
- Drain the circulation system of all water.
- Cover the system with a tarpaulin or plastic sheet to protect it from the weather.
Troubleshooting
| Fault Symptom | Possible Problems | Solutions | ||
| The water is not clear | Insufficient disinfectant level. Incorrect pool chemistry. Heavy bathing and/or dirt loads. insufficient running times. The filter is dirty. Hole in filter element. | Check and adjust disinfectant level. Test and adjust water chemistry. Adjust filter time and/or water chemistry. Increase pump run time. Clean filter per instructions. Replace the filter cartridge. | ||
| Low water flow | Filter system strainer baskets are dirty. Air leaks on the suction side of the pump. Restrictions or blockage in either suction or return lines. The pool water level is too low. Pump not primed. Pump impeller vanes blocked. Pump operating under speed (low voltage). | Check and clean strainer baskets. Check all connections between the pool intake and the pump. Check all lines for debris or partially closed valves. Clean or replace filter cartridge per instructions. Fill the pool so level is above the pump inlet line. Fill the pump with water in the basket and replace the lid. Technician required. | ||
| Short filter cycles | Presence of algae clogging the filter. Incorrect water chemistry. (Allow debris into the pump.) | Check disinfectant content. Check pH, total alkalinity, and TDS. Replace baskets. | ||
| High pressure at start-up | Small eyeball fitting in a Pool/Spa. Partially closed valve on the return line. | Replace with a larger diameter fitting. Check and fully open all valves on the return line. | ||
| Dirt returns to the pool | Hole in the filter cartridge. Worn O-ring seal inside the filter. Filter not assembled correctly. | Replace filter cartridge per instructions. Replace O-Ring. Reassemble filter per instructions. |
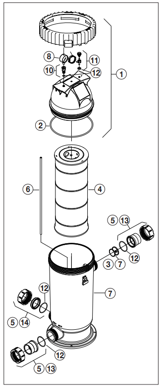
Parts List and Exploded View
| Key No. | Description | Part No. |
| 1 | Top Housing Assembly CS100, CS150 | R0461900 |
| 1 | Top Housing Assembly CS200, CS250 | R0462000 |
| 2 | O-Ring, Tank Top | R0462700 |
| 3 | Inlet Diffuser with Locking Tab | R0462100 |
| 4 | Cartridge Element, 100 Sq. Ft., CS100 | R0462200 |
| 4 | Cartridge Element, 150 Sq. Ft., CS150 | R0462300 |
| 4 | Cartridge Element, 200 Sq. Ft., CS200 | R0462400 |
| 4 | Cartridge Element, 250 Sq. Ft., CS250 | R0462500 |
| 5 | Tailpiece, Cap and Union Nut Set (Set of 3), 2″ x 2 1/2″ | R0461800 |
| 5 | Tailpiece, Cap and Union Nut Set (Set of 3), 50mm | R0462600 |
| 6 | Breather Tube, CS100, CS150 | R0462801 |
| 6 | Breather Tube, CS200, CS250 | R0462802 |
| 7 | Bottom Housing Assembly | R0462900 |
| 8 | Pressure Gauge, 0-60 psi | R0556900 |
| 9 | Clean/Dirty Snap Ring | R0468200 |
| 10 | Pressure Gauge Adapter | R0557100 |
| 11 | Air Release Valve | R0557200 |
| 12 | O-Ring Set | R0466300 |
| 13 | Universal Half Union (Set of 1) | R0522900 |
| 14 | Drain Cap Assy | R0523000 |
Jandy Cartridge Filter, CS Series

Performance and Specifications
1 Headloss Curve, CS Serie
Performance Specifications
| CS100 | CS150 | CS200 | CS250 | |
| Filter Area (sq ft) | 100 | 150 | 200 | 250 |
| Normal Start Up PSI | 6-15 | 6-15 | 6-15 | 6-15 |
| Max Working PSI | 50 | 50 | 50 | 50 |
| Residential Specifications | ||||
| Maximum Flow (gpm) | 100 | 125 | 125 | 125 |
| 6 Hour Capacity (gallons) | 36,000 | 45,000 | 45,000 | 45,000 |
| 8 Hour Capacity (gallons) | 48,000 | 60,000 | 60,000 | 60,000 |
| Commercial Specifications | ||||
| Maximum Flow (gpm) | 37 | 56 | 75 | 93 |
| 6 Hour Capacity (gallons) | 13,500 | 20,250 | 27,000 | 33,750 |
| 8 Hour Capacity (gallons) | 18,000 | 27,000 | 36,000 | 45,000 |
Dimensions

Customer Service
- Tél. : 1-800-822-7933.
- Email: productsupport@fluidra.com.
- Timings: Mon – Fri, 8 AM – 5 PM (PST)
FAQs
Q: What is the JANDY CS100 Pool & Spa Filter?
Compact, low maintenance, and compatible with a range of household pools and spas, it offers effective water filtering.
Q: How does the CS100 filter work?
Clean water can return to the pool or spa since the cartridge material captures impurities and debris.
Q: Can I use chemical cleaners on the cartridge?
Steer clear of aggressive chemicals that could harm the cartridge material. After soaking, always give it a good rinse.
Q: Is the CS100 compatible with saltwater pools or hot tubs?
Indeed. The filter cartridge can withstand corrosion from spa chemicals and saltwater. For the balance of water chemistry, always adhere to the recommended maintenance standards.
Q: Can I operate the filter without the cartridge?
No, because there is no filtration or pressure control, operating the pump without the cartridge can harm both the pipework and the pump.
Q: How long does a CS100 cartridge typically last?
Depending on pool usage, water conditions, and maintenance procedures, the cartridge can last one to two years with good care and routine cleaning.








1 Comment
Pingback: JANDY H0284300 Wet Niche Fixtures Housing Installation Guide