Whirlpool W10887806A Microwave Oven
Safety Instructions
- Read all instructions before using the appliance.
- These substances give off vapors that could ignite or explode.
- Do not allow children to play on or in the appliance.
- Do not reach into the appliance if the tub or agitator is moving.
- Do not tamper with controls.
- Do not repair or replace any part of the appliance or attempt any servicing unless specifically recommended in the user-maintenance instructions or in published user-repair instructions that you understand and have the skills to carry out.
- See the Installation Instructions for grounding requirements and installation.
Electrical Requirements
- A 120 V, 60 Hz, AC-only, 15 or 20 A, fused electrical supply is required. A time-delay fuse or circuit breaker is recommended. It is recommended that a separate circuit breaker serving only this appliance be provided.
- This washer is equipped with a power supply cord having a 3-prong grounding plug.
- To minimize possible shock, the cord must be plugged into a mating, 3-prong, grounding-type outlet, grounded in accordance with local codes and ordinances. If a mating outlet is not available, it is the personal responsibility and obligation of the customer to have the properly grounded outlet installed by a qualified electrician.
- If codes permit and a separate ground wire is used, it is recommended that a qualified electrician determine that the ground path is adequate.
- Do not ground to a gas pipe.
- Check with a qualified electrician if you are not sure the washer is properly grounded.
- Do not have a fuse in the neutral or ground circuit.
Grounding Instructions
For a grounded, cord-connected appliance
This appliance must be grounded. In the event of a malfunction or breakdown, grounding will reduce the risk of electric shock by providing a path of least resistance for electric current. This appliance is equipped with a cord having an equipment-grounding conductor and a grounding plug. The plug must be plugged into an appropriate outlet that is properly installed and grounded in accordance with all local codes and ordinances.
You Will Need
- A home wireless router supporting Wi-Fi, 2.4 GHz, with WPA2 security. If you are unsure of your router’s capabilities, refer to the router manufacturer’s instructions.
- The router needs to be on and have a live internet connection.
- The 10-character SAID code for your appliance. The SAID code is either printed on a label on the appliance or found on the LCD screen.
Tools and Parts
- Measuring tape
- Pencil
- Drill
- Phillips screwdriver
- 7/64” drill bit
Screws Supplied

Standard

Flush

Check local codes. Check existing electrical supply. See “Electrical Requirements”. It is recommended that all electrical connections be made by a licensed, qualified electrical installer.
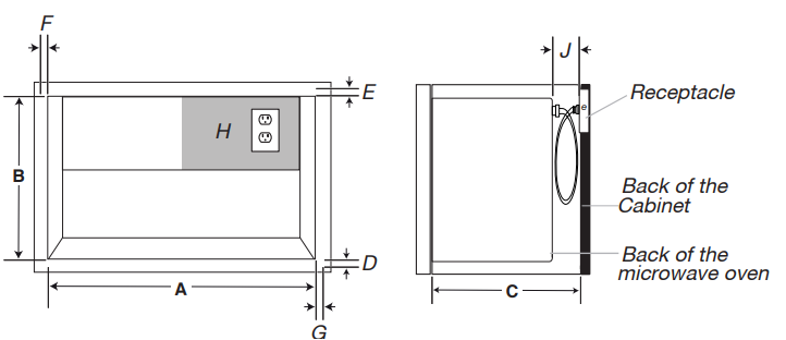
Product Dimensions

| Unit Measurement | in | cm | |
| A | Width of unit | 29 7/8 | 76 |
| B | Height of unit | 18 5/8 | 47.3 |
| C | Depth of unit | 12 3/4 | 32.3 |
| D | Height of unit w/o door and vent | 16 3/8 | 31.5 |
| E | Width of unit w/o door and vent | 28 3/8 | 72 |
| F | Door and vent thickness | 1 3/8 | 3.5 |
Location Requirements
This is a built-in appliance. Do not use as a countertop microwave oven. This microwave oven must be installed in wooden cabinetry. The location must provide:
- Cutout opening that is plumb and square.
- Cutout floor that is solid, level, and flush with the bottom of the cabinet cutout.
- Support for a weight of 150 lbs (68 kg), which includes a microwave oven and items placed inside the microwave oven and the upper cabinet.
- There must be a minimum of 36” from the floor to the cut-out floor.
- Grounded electrical outlet inside the upper cabinet.
- Minimum installation clearances for the installation location.
- Complete enclosure around the recessed portion of the microwave oven.
- Mounting distance between a fixed wall on the hinged side of the door and the microwave oven is 0.5” (1.3 cm).
Standard Installation
Cabinet Dimensions – Over A Built-In Oven

- Upper cabinet
- Microwave oven cutout
- Lower oven cutout
- Floor
- Minimum distance of 36” (91.4 cm) from the floor to the cutout floor.
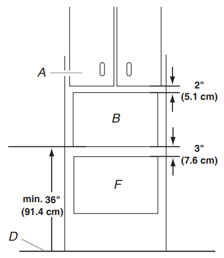
- The microwave oven may be installed over a built-in oven.
- If installing over a built-in oven, make sure there is a minimum of 3” (7.6 cm) between the top of the lower oven cutout and the microwave oven cutout floor.
- Make sure the surrounding cabinetry has clearance to open and close freely.
- Allow a clearance of at least 2” (5.1 cm) above the cutout opening.
Cabinet Dimensions – Not Over A Built-In Oven

- Minimum distance of 36” (91.4 cm) from the floor to the cutout floor.
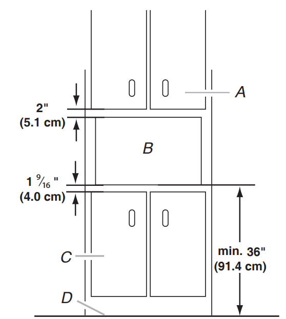
- The microwave oven may also be installed in a cabinet by itself (without a built-in oven below).
- Allow a clearance of at least 1 9/16” (4.0 cm) below the cabinet.
- Make sure the surrounding cabinetry has clearance to open and close freely.
- Allow a clearance of at least 2” (5.1 cm) above the cutout opening.
Flush Installation
Cabinet Dimensions – Over A Built-In Oven

- Upper cabinet
- Microwave oven cutout
- 11/16” (1.75 cm) side cleat*
- 1” (2.5 cm) top cleat*
- Lower oven cutout
- Floor
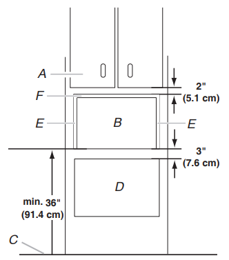
- Minimum distance of 36” (91.4 cm) from the floor to the cutout floor.
- Make sure the surrounding cabinetry has clearance to open and close freely.
- Allow a clearance of at least 2” (5.1 cm) above the cutout opening.
- Cleats must be recessed 1 3/8” (3.5 cm) from the front of the cabinet.
- Cleats’ depth must be less than 2” (5.1 cm).
- The blocking of the *cleats is not glued or nailed into place.
- This allows for any necessary correction.
Cabinet Dimensions – Not Over A Built-In Oven, Flush Installation

- Minimum distance of 36” (91.4 cm) from the floor to the cutout floor.
- The microwave oven may also be installed in a cabinet by itself (without a built-in oven below).
- Allow a clearance of at least 1 9/16” (4.0 cm) below the cabinet.
- Make sure the surrounding cabinetry has clearance to open and close freely.
- Allow a clearance of at least 2” (5.1 cm) above the cutout opening.
- Cleats must be recessed 1 3/8” (3.5 cm) from the front of the cabinet.
- Cleat depth must be less than 2” (5.1 cm).
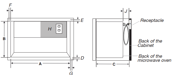
Dimensions (Standard)

| Cabinet cutout measurement | in | cm | |
| A | Width of cabinet opening | 28 1/2 | 72.4 |
| B | Height of cabinet opening | 17 1/8 | 43.5 |
| C | Depth of cabinet opening (min.)(with flush receptacle) | 16 3/4 | 42.5 |
| D | Frame overlap-lower frame | 7/16 | 1.1 |
| E | Frame overlap-upper frame | 1 | 2.5 |
| F | Frame overlap-left frame | 11/16 | 1.8 |
| G | Frame overlap-right frame | 11/16 | 1.8 |
| J | Receptacle surface to the back of the microwave oven | 4 ~ 40 | 10.2 ~ 102 |
Cutout Dimensions (Flush)

| Cabinet cutout measurement | in | cm | |
| A | Width of flush inset cutout(min.) | 30 | 76.2 |
| B | Height of flush inset cutout(min.) | 18 15/16 | 48 |
| C | Width of cabinet opening(min.) | 28 5/8 | 72.7 |
| D | Height of cabinet opening(min.) | 17 15/16 | 45.5 |
| E | Depth of cutout(min.)(with flush receptacle) | 18 3/16 | 46.2 |
| F | Cleat recessed from the front of the cabinet | 1 3/8 | 3.5 |
| G | Depth of the cleat (max.) | 2 | 5.1 |
| H | Receptacle area | / | / |
| J | Receptacle surface to the back of the microwave oven | 4 ~ 40 | 10.2 ~ 102 |
Electrical Requirements
Required
- A 120 V, 60 Hz, AC only, 15 A or 20 A electrical supply with a fuse or circuit breaker.
Recommended
- A time-delay fuse or time-delay circuit breaker.
- A separate circuit serving only this microwave oven.
Prepare the Microwave Oven
- To avoid possible damage to the work surface, cover the work surface.
- Remove parts supplied from the outer foam in the carton and set aside for installation use.
- Remove the literature pack from the outer foam in the carton and set it aside for installation use.
- Remove shipping materials, tape, and film from the microwave.
- Remove any loose items inside the microwave oven.
- Tape the microwave oven door closed so that the door does not swing open while the microwave oven is being handled.
Standard Installation
- Using a measuring tape and a pencil, mark the centerline of the opening on the cabinet’s lower front wall.
- Place the two rails inside the cabinet, making sure the stopper is against the cabinet’s lower edge as shown below.
- Measure the distance between the centerline to the rails’ nearest edges (a) is 10” (25.4 cm)
- Cabinet
- Rails
- Side wall
- Stopper
- Cabinet lower edge
- Use a pencil to draw screw marks across the six rails screw holes C, D, E, F, G, H in the cabinet. Confirm that the distance between the centerline to the nearest edges (a) is 10” (25.4 cm).. Then take out the two rails.
- Cabinet
- Rails
- Hole C on the left rail
- Hole D on the left rail
- Hole E on the left rail
- Hole F on the right rail
- Hole G on the right rail
- Hole H on the right rail
- Using a 7/64” drill bit, drill six screw pilot holes of C, D, E, F, G, H in the bottom cabinet
- Cabinet
- Hole C
- Hole D
- Hole E
- Hole F
- Hole G
- Hole H
- Put the two rails inside the cabinet, and align the screw holes on the rails and the pilot holes on the cabinet. Attach the six #7-16×7/16” round-head wood screws to fix the rails to the cabinet.
- Cabinet
- Rails
- Hole C
- Hole D
- Hole E
- Hole F
- Hole G
- Hole H
Flush Installation
- Using a measuring tape and a pencil, mark the centerline of the opening on the cabinet’s lower front wall.
- Place the two rails inside the cabinet, making sure the stopper is against the side cleat as shown below.
- Measure the distance between the centerline to the rails’ nearest edges (a) is 9 1/4” (23.5 cm), and the distance from the front edge of the rail to the front edge of the cabinet (b) is 1 5/16” (3.5 cm).
- Cabinet
- Rails
- Side wall
- Side cleat
- Stopper
- Use a pencil to draw screw marks across the six rails screw holes C, D, E, F, G, H in the cabinet. Confirm the distance between the centerline to the rails’ nearest edges(a) is 9 1/4”. (23.5 cm). Then take out the two rails.
- Cabinet
- Rails
- Hole C on the left rail
- Hole D on the left rail
- Hole E on the left rail
- Hole F on rthe ight rail
- Hole G on rthe ight rail
- Hole H on rthe ight rail
- Using a 7/64” drill bit, drill six screw pilot holes of C, D, E, F, G, H in the bottom cabinet.
- Cabinet
- Hole C
- Hole D
- Hole E
- Hole F
- Hole G
- Hole H
- Put the two rails inside the cabinet, and align the screw holes on the rails and the pilot holes on the cabinet. Attach the six #7-16×7/16” round-head wood screws to fix the rails to the cabinet.
- Cabinet
- Rails
- Hole C
- Hole D
- Hole E
- Hole F
- Hole G
- Hole H
Oven-Standard
- Use a 7a /64” drill to drill two pilot holes into the front face of the cutout/cabinet through the mounting hole guides in the top of the vent grid.

- Cabinet
- Vent grid
- Screw hole

- Vent grid
- #7-16×15/16” flat head wood screw (2)
- Microwave door
- Mounting hole guide
- Cutout ceiling
Secure vent grid to cutout/cabinet, installing two Whirlpool W11451304 Stainless Steel Microwave #7-16 x 15/16” flat head wood screws into the pilot holes
drilled by hand.
Cover the screw hole with the two covers.

Oven-Flush
- Secure the vent grid to the bracket by installing two M4x1/2” flat head self-tapping screws into the pilot holes.

- Cabine
- Vent grid
- Mounting hole guide
- M4x1/2” flat head self-tapping screw(2)
- Microwave oven door
- Cleat of the cabinet
- Bracket
Complete Installation
- Check the operation of the microwave oven by placing Whirlpool W10887806A Microwave Oven 1 cup (250 ml) of water in the bottom of the cavity and programming a cook time of 1 minute at 100% power.
- If the microwave oven does not operate:
- Check that a household fuse has not blown, or that a circuit breaker has not tripped. Replace the fuse or reset the circuit breaker. If the problem continues, call an electrician.
- Check that the power supply cord is plugged into a grounde33-prong outlettet.
- The installation is now complete. Save this owner’s manual for future use.

MAINTENANCE AND CARE
Cleaning Method
- Affresh®✝ Stainless Steel Cleaners Part Number W10355016 (not included) or affresh® Stainless Steel Cleaning Wipes Part Number W1055049 (not included): See the Quick Start Guide for ordering information.
- Vinegar for hard water spots.
Exterior
- Glass cleaner and a soft cloth or sponge: Apply glass cleaner to a soft cloth or sponge, not directly on the panel.
- Affresh® Kitchen Appliance Cleaners Part Number W10355010 (not included): See “Online Ordering Information” section from Quick Start Guide to order.
Nonstick Cavity Coating (On Some Models)
- To avoid damage to the microwave oven cavity, do not use metal or sharp utensils or scrapers, or any type of abrasive cleanser or scrubbers.
MICROWAVE OVEN CAVITY
- To avoid damage to the microwave oven cavity, do not use soap-filled scouring pads, abrasive cleaners, steel wool pads, gritty washcloths, or some paper towels.
- On stainless steel models, rub in the direction of the grain to avoid damage.
- The area where the microwave oven door and Whirlpool W11451304 Stainless Steel Microwave frame touch when closed should be kept clean.
Average soil
- Mild, nonabrasive soaps and detergents.
Rinse with clean water and dry with a soft, lint-free cloth.
Heavy soil
- Mild, nonabrasive soaps and detergents: Heat 1 cup (250 mL) of water for 2 to 5 minutes in a microwave oven. Steam will soften soil. Rinse with clean water and dry with a soft, lint-free cloth.
Odors
- Lemon juice or vinegar: Heat 1 cup (250 mL) of water with 1 tbsp (15 mL) of either lemon juice or vinegar for 2 to 5 minutes in a microwave oven.
Wire Rack
- Steel-wool pad
- Dishwasher
FCC Statements
Federal Communications Commission (FCC) Compliance Notice
This device complies with Part 15 of the FCC Rules. Operation is subject to the following two conditions:
- This device may not cause harmful interference, and
- This device must accept any interference received, including interference that may cause undesired operation.
- Changes or modifications not expressly approved by the party responsible for compliance could void the user’s authority to operate the equipment.
Industry Canada (IC) Compliance Notice
This Device complies with Industry Canada License-exempt RSS standard(s). Operation is subject to the following two conditions:
- This device may not cause interference.
- This device must accept any interference, including Whirlpool W11451304 Stainless Steel Microwave interference that may cause undesired operation of the device.
Under Industry Canada regulations, this radio transmitter may only operate using an antenna of a type and maximum (or lesser) gain approved for the transmitter by Industry Canada.
- Reorient or relocate the receiving antenna.
- Increase the separation between the equipment and receiver.
- Connect the equipment into an outlet on a circuit different from that to which the receiver is connected.
- Consult the dealer or an experienced radio/TV technician for help.
FCC Caution
- Reorient or relocate the receiving antenna.
- Increase the separation between the equipment and receiver.
- Connect the equipment into an outlet on a Whirlpool W10887806A Microwave Oven Whirlpool W11451304 Stainless Steel Microwave circuit different from that to which the receiver is connected.
- Consult the dealer or an experienced radio/TV technician for help.
The user manual for the end product must include the following information in a prominent location.
To comply with FCC RF radiation exposure limits for the general population, the antenna(s) used for this transmitter must be installed such that a minimum separation distance of 20 cm is maintained between the radiator (antenna) and all persons at all times and must not be colocated or operating in conjunction with any other antenna or transmitter.”
OEM Responsibilities to comply with FCC Regulations
The rebel UI Modules have been certified for Whirlpool W11451304 Stainless Steel Microwave integration into products only by OEM integrators under the following conditions:
- The antenna(s) must be installed such that a minimum separation distance of 20 cm is maintained between the radiator (antenna) and all persons at all times.
- The transmitter module must not be co-located or operating in conjunction with any other antenna or transmitter.
As long as the two conditions above are met, further Whirlpool W11451304 Stainless Steel Microwave transmitter testing will not be required. However, Whirlpool W10887806A Microwave Oventhe OEM integrator is still responsible for testing their end-product for any additional compliance Whirlpool W10887806A Microwave Ovenrequirements required with this module installed (for example, digital device emissions, PC peripheral requirements, etc).
End Product Labelling
This module is labelled with an FCC ID. If the FCC ID is not visible when the module is installed inside another device, then the outside of the device into which the Whirlpool W10887806A Microwave Oven module is installed must also display a label referring to the enclosed module. In that case, the end product must be labelled in a visible area or display the following:
Contains FCC ID: 2AC7Z-RIGEL
The OEM of this module must only use the approved antenna(s), which have been certified with this module. The OEM integrator has to be aware not to provide Whirlpool W10887806A Microwave Oven Whirlpool W10887806A Microwave Oven information to the end user regarding how to install or remove this RF Whirlpool W10887806A Microwave Oven module or change RF-related parameters in the user manual of the end product.
Customer Service
- Website: https://www.whirlpool.com/
- Ph: 1-800-253-1301
FAQs
Q: What type of microwave is the Whirlpool W10887806A?
The Whirlpool W10887806A is a countertop or built-in microwave oven that uses cutting-edge heating and defrosting technology for quick, effective, and even cooking, depending on configuration.
Q: Can I change the power level during cooking?
Indeed. To fit particular recipes, you can change the power level at the beginning or during the cooking cycle: lower for defrosting or simmering, higher for boiling or reheating.
Q: How do I use the defrost feature correctly?
The microwave will automatically determine the duration and power when you enter the food type and weight in accordance with the guide. Halfway through the defrosting process, turn or separate the food for optimal results.
Q: Can I cook or reheat liquids in this microwave?
Yes, but to avoid “superheating,” which occurs when liquids quickly boil when transferred, always put a non-metallic stir stick in the container or stir occasionally.
Q: Why does the turntable rotate?
By rotating the food while it cooks, the turntable guarantees even heating.
Q: Can I stop the turntable from rotating?
For even cooking, the turntable should usually stay on. For larger dishes, you can, however, turn off rotation on some models. Examine your user preferences or display panel choices.
Q: What does the “Control Lock” feature do?
Press and hold the relevant key (often “Start” or “Stop”) for three to five seconds to activate or deactivate.


