Whirlpool W11468670e French Door Bottom Mount
Safety Instructions
- Do not use an extension cord. Connect to a potable water supply only.
- Do not store explosive substances such as aerosol cans with a flammable propellant in this appliance.
- Do not use replacement parts that have not been recommended by the manufacturer (e.g., parts made at home using a 3D printer).
- Keep ventilation openings in the appliance enclosure or in the built-in structure clear of obstruction.
- Do not use mechanical devices or other means to accelerate the defrosting process, other than those recommended by the manufacturer. Do not damage the refrigerant circuit.
- Do not use electrical appliances inside the food storage compartments of the appliance, unless they are of the type recommended by the manufacturer.
- An ice maker kit can be added to some models. See the serial tag inside the food compartment of the appliance for ice maker kit model information.
- A qualified service technician must install the water line and ice maker. See installation instructions supplied with ice maker kit for complete details.
Features
- Crisper Humidity Control: You can control the amount of humidity in the moisture-sealed crisper. Depending on your model, adjust the control to any setting between Fruit and Vegetables or Low and High.
- Fruit/Low (open): Move the control to allow moist air out of the crisper for the best storage of fruits and vegetables with skins.
- Fruit: Wash, let dry, and store in refrigerator in plastic bag or crisper. Do not wash or hull berries until they are ready to use. Sort and keep berries in the original container in the crisper, or store in a loosely closed paper bag on a refrigerator shelf.
- Vegetables with skins: Place in plastic bags or a plastic container and store in the crisper.
- Vegetables/High (closed): Move the control to keep moist air in the crisper for the best storage of fresh, leafy vegetables. Leafy vegetables: Wash in cold water, drain, and trim or tear off bruised and discolored areas. Place in a plastic bag or plastic container and store in the crisper
Complete the Installation
- Plug into a grounded 3-prong outlet. Allow 24 hours to produce the first batch of ice. Discard the first three batches of ice produced. Allow 3 days to completely fill the ice storage bin.
- Flush the water system. See “Water and Ice Dispensers.”
Install Air Filter
The air filter reduces the buildup of odors. This helps to maintain a cleaner environment inside your refrigerator. An air filter is 15 times more powerful than baking soda at reducing common food odors inside the refrigerator. Your refrigerator’s accessory packet includes an air filter, which must be installed before use. On some models, the air filter is already installed at the factory.

Behind Vented Door
Install the air filter behind the vented door, located on the rear wall near the top of the refrigerator compartment.
- Remove the air filter from its packaging. An air filter status indicator is included with the air filter. The indicator is not needed for models that display the air filter status on the control panel.
- Lift open the vented door.
- Snap the filter into place.

Behind LED Vent Cover
Install the air filter behind the blue LED-lighted vent cover, located on the rear wall near the middle of the refrigerator.
- Remove the air filter from its packaging.
- Firmly grasp the plastic cover on the vented cover with both hands and pull it out to remove it. When the cover is removed for the first time, a small foam part the size of the filter will need to be discarded.

- Snap the filter into place.

Installing the Filter Status Indicator
The air filter icon on the control panel displays the air filter status.
- Blue: Good.
- Red: Replace the air filter.
- Red and flashing “Replace Filter”: Expired.
Replacing the Air Filter
The disposable air filter should be replaced every 6 months, or when the status indicator air filter icon turns on and starts flashing when the refrigerator door is opened. To order a replacement air filter, see ordering information in the “Quick Start Guide.”
- Remove the used air filter by squeezing in on the side tabs.
- Install the new air filter and status indicator using the instructions in the previous sections.
Standard Installation
Air Filter Status Indicator
The filter comes with a status indicator, which should be activated and installed at the same time the air filter is installed.
- Place the indicator facedown on a firm, flat surface.
- Apply pressure to the bubble on the back of the indicator until the bubble pops to activate the indicator.
- Lift open the vented air filter door. On some models, there are notches behind the door.
Models with Notches
- With the indicator screen facing outward, slide the indicator down into the notches. The indicator will not easily slide into the notches if the rear bubble has not been popped.
- Close the air filter door, and check that the indicator is visible through the window in the door.
- Status indicator window
- Air filter status indicator
- Notches
- Place the indicator in a visible place you will easily remember, either inside the refrigerator or elsewhere in your kitchen or home.
Install Produce Preserver
- Your refrigerator’s accessory packet includes a Produce Preserver, which should be installed before use. On some models, the Produce Preserver is already installed at the factory. To order a replacement produce preserver, use part number W10346771.
- The Produce Preserver absorbs ethylene, allowing the ripening process of many produce items to slow down. As a result, certain produce items will stay fresh longer.
- Ethylene production and sensitivity vary depending on the type of fruit or vegetable. To preserve freshness, it is best to separate produce with sensitivity to ethylene from fruits that produce moderate to high amounts of ethylene.
First Aid Treatment
Contains potassium permanganate. If swallowed, call a Poison Control Center or doctor immediately. Do not induce vomiting. If in the eyes, rinse with water for 15 minutes. If on skin, rinse with water.
Located Inside the Refrigerator
- Find the Produce Preserver housing inside the refrigerator.

- Lift the housing to remove it from the mounting tab. Open the housing by pulling up and out on the back of the top of the housing.
- Remove the Produce Preserver pouches from the packaging. Place them into the housing, then snap the housing back together. For best performance, always use two pouches.
- Attach the Produce Preserver housing to the back wall of the crisper drawer according to the instructions included in the package. Place housing back on the mounting tab.
Located in Crisper or Refrigerator Drawers
For your convenience, the suction-mounted produce preserver can be installed in either the crisper or the refrigerated drawers.
- Wash the interior of a drawer with a solution of mild dish soap and warm water, and dry thoroughly.
- Find the package containing the Produce Preserver inside the refrigerator and install the Produce Preserver into the drawer, according to the instructions provided in the package.
Installing the Status Indicator
The Produce Preserver comes with a status indicator, which should be activated and installed at the same time the pouch is installed.
- Place the indicator facedown on a firm, flat surface.
- Apply pressure to the bubble on the back of the indicator until the bubble pops to activate the indicator.
- Slide open the cap on the Produce Preserver housing.
- Place the indicator at the top of the housing, facing outward.
- Slide the cap closed, and check that the indicator is visible through the rectangular hole in the cap. The cap will not close easily if the indicator’s rear bubble has not been popped.
Changing the LED Module
The lights in both the refrigerator and freezer compartments use LED technology. If the lights do not illuminate when the door or drawer is opened, call for assistance or service. Refer to the “Quick Start Guide” for contact information. If an LED module(s) do not illuminate when the refrigerator and/or freezer door is opened, call for assistance or service.
Replacing the Produce Preserver Pouches
The disposable pouches should be replaced every 6 months, when the status indicator has completely changed from white to red. To order replacements, see the contact information in the “Quick Start Guide.” Order part number W10346771A or FRESH1.
- Remove the used pouches from the produce preserver housing.
- Remove the used status indicator.
- Install the new pouches and status indicator using the instructions in the previous sections or instructions included in the replacement packets.
Installation Instructions
Unpacking
- A minimum door opening of 33″ (838 mm) is required.
- If the door opening is 36″ (914 mm) or less, then removal of doors, drawers, and hinges is required.
- Cart the refrigerator from the side for all door openings. Remove the Packaging
- Remove tape and glue residue from surfaces before turning on the refrigerator.
- Rub a small amount of liquid dish soap over the adhesive with your fingers.
- These products can damage the surface of your refrigerator.
- Dispose of/recycle all packaging materials.
Location Requirements
- Staff kitchen areas in shops, offices, and other working environments.
- Farm houses and by clients in hotels, motels, and other residential-type environments.
- Bed and breakfast-type environments.
- Catering and similar non-retail applications.
- To ensure proper ventilation for your refrigerator, allow for 1/2″ (1.25 cm) of space on each side and at the top.
- Allow for 1″ (2.54 cm) of space behind the refrigerator. If your refrigerator has an ice maker, allow extra space at the back for the water line connections.
- When installing your refrigerator next to a fixed wall, leave 21/2″ (6.3 cm) minimum on the hinge side (some models require more) to allow for the door to swing open.
- This refrigerator is intended for use in a location where the temperature ranges from a minimum of 55°F (13°C) to a maximum of 110°F (43°C).
- The preferred room temperature range for optimum performance, which reduces electricity usage and provides superior cooling, is between 60°F (15°C) and 90°F (32°C).
- It is recommended that you do not install the refrigerator near a heat source, such as an oven or radiator.

Electrical Requirements
Before you move your refrigerator into its final location, it is important to make sure you have the proper electrical connection. If the supply cord is damaged, it must be replaced by the manufacturer or its service agent, or a similarly qualified person. Do not use a cord that shows cracks or abrasion damage along its length or at either the plug or connector end.
Recommended Grounding Method
- A 115 V, 60 Hz AC-only, 15 A or 20 A fused, grounded electrical supply is required.
- It is recommended that a separate circuit serving only your refrigerator and approved accessories be provided. Use an outlet that cannot be turned off by a switch. Do not use an extension cord.
- If this product is connected to a GFCI (Ground Fault Circuit Interrupter) protected outlet, nuisance tripping of the power supply may occur, resulting in loss of cooling.
- Food quality and flavor may be affected. If nuisance tripping has occurred, and if the condition of the food appears poor, dispose of the food.
- Before performing any type of installation or cleaning, or removing a light bulb, turn the cooling off or turn the control (Thermostat, Refrigerator, or Freezer Control, depending on the model) to Off.
- On models with a digital temperature control, press the minus sign touch pads repeatedly until a dash (-) appears in both the freezer and refrigerator displays.
- Disconnect the refrigerator from the electrical source. When you are finished, reconnect the refrigerator to the electrical source and turn cooling on or reset the control (Thermostat, Refrigerator or Freezer Control depending on the model) to the desired setting.
Refrigerator Shelves
Important information to know about glass shelves and covers:
- Do not clean glass shelves or covers with warm water when they are cold.
- Shelves and covers may break if exposed to sudden temperature changes or impact, such as bumping.
- Tempered glass is designed to shatter into many small, pebble-sized pieces.
- This is normal. Glass shelves and covers are heavy.
- Use both hands when removing them to avoid dropping.
- The shelves in your refrigerator are adjustable to match your individual storage needs.
- It will also reduce the amount of time the refrigerator door is open and save energy.
- Remove items from the shelf.
- Slide the shelf straight out to the stop.
- Depending on your model, lift the back or front of the shelf past the stop.
- Pull the shelf out the rest of the way.
To Replace a Shelf
- Slide the back of the shelf into the track in the wall of the cabinet.
- Guide the front of the shelf into the shelf track. Be sure to slide the shelf in all the way.

Shelves with Shelf Frames
- Remove the shelf/frame by tilting it up at the front and lifting it out of the shelf supports.
- Replace the shelf/frame by guiding the rear shelf hooks into the shelf supports.
- Tilt the front of the shelf up until the rear shelf hooks drop into the shelf supports.
- Lower the front of the shelf and make sure that the shelf is in position.

Shelves with Shelf Mounts
Shelf height can be adjusted by changing the adjustable shelf mounts between their vertical and horizontal positions.
- Carefully lift the shelf off the shelf mounts and turn the flipper to the desired orientation.
- Repeat for the remaining shelf mounts.
- Apply pressure to the top of the shelf to ensure the shelf is properly seated on the shelf mounts.

To Remove and Replace Shelves
- Make sure the adjustable shelf mounts are in the lower position before removing shelves.
- Also, doors will need to be open at a 90˚ angle.
- If open wider, it will make it harder to remove the shelves.
- Remove the middle shelf or top shelf by lifting it up and out of the shelf supports.
- Then pull the shelf forward and tilt it down to a vertical position.
- Turn the shelf at an angle and pull it out of the refrigerator.
- Infinity slide glass shelves should be pushed back in.
- When tilted up, make sure the glass does not slide to the front.
- Remove the bottom shelf by lifting it up and out of the shelf supports.
- Then pull the shelf forward and tilt it up to a vertical position.
- Turn the shelf at an angle and pull it out of the refrigerator.
- Lift the front of the shelf and slide it in until the rear shelf drops into the shelf supports.
- Lower the front of the shelf and make sure that the shelf is in position.
- Replace the bottom shelf by putting the shelf in the refrigerator at an angle with the shelf up.
- Lift the front of the shelf down and slide it in until the rear shelf drops into the shelf supports.
- Lower the front of the shelf and make sure that the shelf is in position.
Tuck/Slide Away Shelf
Some shelves will tuck/slide away to create room for taller objects. To retract and extend the front section of the shelf:
- To retract the front section of the shelf, slightly lift the front edge and push the adjustable portion of the shelf back toward the rear of the refrigerator.
- Extend the front of the shelf by pulling the retracted portion of the shelf outward until it is fully extended.

Foldaway Shelf
To retract the fold-away shelf
Retract the fold-away section of the shelf by holding the front of the shelf with one hand and lifting on the center front of the shelf. Then push back and down on the shelf until it slides beneath the back section of the shelf.
To replace the fold-away shelf
Replace the fold-away section of the shelf by holding the front of the shelf with one hand and pulling the center of the shelf until the fold-away section is returned to its full shelf position.

MicroEdge® Glo Shelves (on some models)
The hooks on the rear of the shelf must be fully engaged in the shelf supports to maintain proper electrical flow. No more than two shelves with under-shelf lighting may be used in the refrigerator at one time.
Opening and Closing Doors
The Whirlpool W11468670e French Door Bottom Mount has two refrigerator compartment doors. The doors of the Whirlpool W11468670e French Door Bottom Mount can open separately or together. Some Whirlpool W11468670e French Door Bottom Mount models have an automatic closing mechanism to prevent doors from being left open. If a door of the Whirlpool W11468670e French Door Bottom Mount is open at 40° or less, it will softly close.
If the doors of the Whirlpool W11468670e French Door Bottom Mount do not close automatically, see “Bottom Door Hinge” in the Whirlpool W11468670e French Door Bottom Mount manual. The left door of the Whirlpool W11468670e French Door Bottom Mount has a vertically-hinged seal for proper temperature control. Always keep the doors of the Whirlpool W11468670e French Door Bottom Mount clean and free of obstructions. Avoid forcing the doors of the Whirlpool W11468670e French Door Bottom Mount to close.
The automatic closing of the Whirlpool W11468670e French Door Bottom Mount ensures safety and convenience. Regularly check the hinges of the Whirlpool W11468670e French Door Bottom Mount. Both doors of the Whirlpool W11468670e French Door Bottom Mount should always be fully closed. Proper care of your Whirlpool W11468670e French Door Bottom Mount ensures long life and efficiency. The Whirlpool W11468670e French Door Bottom Mount is designed for smooth operation and reliable sealing.
- When the left-hand door is opened, the hinged seal automatically folds inward so that it is out of the way.
- When both doors are closed, the hinged seal automatically forms a seal between the two doors. The refrigerator compartment door switch is located in the top left and right hinge cover.

- The door switch uses a magnet to sense door opening/closing.
- Ensure there are no magnets or electronic devices (Speaker, CoolVox®, etc) within 3 inches of the hinge cap. The light and internal user interface (UI) will not turn on if the door opening is not detected.

Vacation and Moving Care
Vacation
If You Choose to Leave the Refrigerator On While You’re Away:
- Use up any perishables and freeze other items.
- If your refrigerator has an automatic ice maker and is connected to the household water supply, turn off the water supply to the refrigerator.
- Property damage can occur if the water supply is not turned off.
- If you have an automatic ice maker, turn off the ice maker. Depending on your model, raise the wire shut-off arm to the Off (up) position or press the switch to Off.
- Empty the ice bin.
Models with Vacation Mode Feature
- Turn on Vacation mode. See the “Quick Start Guide” for details.
Turn Off the Refrigerator Before You Leave
- Remove all food from the refrigerator.
- If your refrigerator has an automatic ice maker:
- Turn off the water supply to the ice maker at least one day ahead of time.
- When the last load of ice drops, raise the wire shut-off arm to the Off (up) position or press the switch to Off, depending on your model.
- Empty the ice bin. Turn off the Temperature control(s). See the “Quick Start Guide.” Clean the refrigerator, wipe it, and dry it well.
- Tape rubber or wood blocks to the tops of both doors to prop them open far enough for air to get in. This stops odor and mold from building up.
Moving
When you are moving your refrigerator to a new home, follow these steps to prepare it for the move.
- Turn off the water supply to the ice maker at least one day ahead of time.
- Disconnect the water line from the back of the refrigerator.
- Remove all food from the refrigerator and pack all frozen food in dry ice.
- Empty the ice bin.
- Turn off the Temperature control(s).
- Unplug the refrigerator.
- Clean, wipe, and dry thoroughly.
- Tape the doors closed and tape the power cord to the back of the refrigerator.
Water Supply Requirements
Gather the required tools and parts before starting installation. Read and follow the instructions provided with any tools listed here.
Tools Needed
- Flat-blade screwdriver
- 7/16″ and 1/2″ Open-end or two adjustable wrenches
- 1/4″ Nut driver
- 1/4″ Drill bit
- Cordless drill
- All installations must meet local plumbing code requirements.
- For models with water filters, the disposable water filter should be replaced at least every 6 months.
Water Pressure
- A cold water supply with water pressure of between 35 psi and 120 psi (241 kPa and 827 kPa) is required to operate the water dispenser and ice maker. If you have questions about your water pressure, call a licensed, qualified plumber.
- If the water pressure is less than what is required, the flow of water from the water dispenser could decrease, or ice cubes could be hollow or irregularly shaped.
Reverse Osmosis Water Supply
- Check to see whether the sediment filter in the reverse osmosis system is blocked.
- Replace the filter if necessary.
- Allow the storage tank on the reverse osmosis system to refill after heavy usage.
- The tank capacity could be too small to keep up with the requirements of the refrigerator.
- Faucet-mounted reverse osmosis systems are not recommended.
- If your refrigerator has a water filter, it may further reduce the water pressure when used in conjunction with a reverse osmosis system. Remove the water filter.
Connections
Connect the Water Supply
- Plumbing shall be installed in accordance with the International Plumbing Code and any local codes and ordinances.
- Check for leaks. If PEX tubing is used instead of copper, we recommend contacting Service to obtain current part numbers.
- Install tubing only in areas where temperatures will remain above freezing.
- Connect to a potable water supply only.
Connect to Water Line
If you turn on the refrigerator before the water line is connected, turn off the ice maker.
- Unplug the refrigerator or disconnect the power.
- Turn off the main water supply. Turn on the nearest faucet long enough to clear the line of water.
- Use a quarter-turn shut-off valve or the equivalent, served by a 1/2″ copper or PEX household supply line.
- To allow sufficient water flow to the refrigerator, a minimum 1/2″ size copper or PEX household supply line is recommended.

- Now you are ready to connect the copper or PEX tubing to the shut-off valve.
- Ensure that you have the proper length needed for the job. Be sure both ends of the copper tubing are cut square.
- Compression sleeve
- Compression nut
- Copper or PEX tubing
- Place the free end of the tubing into a container or sink, and turn on the main water supply to flush out the tubing until the water is clear.
- Bend the copper or PEX tubing to meet the water line inlet, which is located on the back of the refrigerator cabinet.
Connect to Refrigerator
Depending on your model, the water line may come down from the top or up from the bottom. Follow the connection instructions for your model.
- Remove the plastic cap from the water valve inlet port. Attach the copper or PEX tube to the valve inlet using a compression nut and sleeve as shown. Tighten the compression nut. Do not overtighten. Confirm copper or PEX tubing is secure by pulling on the tubing.
- Create a service loop with the copper tubing. Avoid kinks when coiling the tubing. Secure copper or PEX tubing to the refrigerator cabinet with a “P” clamp.
- Copper or PEX tubing
- “P” clamp
- Compression nut
- Compression sleeve
- Turn on the water supply to the refrigerator and check for leaks. Correct any leaks.
- Unplug the refrigerator or disconnect the power.
- Remove and discard the short, black plastic part from the end of the water line inlet.
- Household water line
- Nut (purchased)
- Ferrule (purchased)
- Refrigerator water tubing
- Install the water supply tube clamp around the water supply line to reduce strain on the coupling.
- Turn the shut-off valve on.
- Check for leaks. Tighten any connections (including connections at the valve) or nuts that leak.
- Unplug the refrigerator or disconnect the power.
- Cold water pipe
- Pipe clamp
- Copper tubing
- Compression nut
- Compression sleeve
- shut-off valve
- Packing nut
- Screw the compression nut onto the outlet end with an adjustable wrench.
- Do not overtighten, or you may crush the copper tubing.
- Place the free end of the tubing in a container or sink, and turn ON the main water supply.
- Flush the tubing until the water is clear. Turn OFF the shut-off valve on the water pipe.
Water and Ice Dispensers
- Allow 24 hours for the refrigerator to cool down and chill water.
- Dispense enough water every week to maintain a fresh supply.
- Allow 24 hours to produce the first batch of ice.
- Discard the first three batches of ice produced.
- The dispenser will dispense either water or ice.
- The dispensing system will not operate when the refrigerator door is open.
- On some models, the display screen on the dispenser control panel will turn off automatically and enter “sleep” mode when the control buttons and dispenser levers have not been used for 2 minutes or more.
- While in “sleep” mode, the first press of a control button will only reactivate the display screen without changing any settings.
- After reactivation, changes to any settings can then be made. If no changes are made within 2 minutes, the display will re-enter “sleep” mode.
Flush the Water System
- Using a sturdy container, depress and hold the water dispenser paddle for 5 seconds.
- Release the dispenser paddle for 5 seconds. Repeat steps 1 and 2 until water begins to flow.
- Once water begins to flow, continue depressing and releasing the dispenser pad (5 seconds on, 5 seconds off) until a total of 3 gallons (12 liters). Has been dispensed.
The Water Dispenser
- With the water filter removed, dispense 1 cup (237 mL) of water. If 1 cup of water is dispensed in 8 seconds or less, the water pressure to the refrigerator meets the minimum requirement.
- If it takes longer than 8 seconds to dispense 1 cup (237 mL) of water, the water pressure to the refrigerator is lower than recommended. See “Water Supply Requirements” and online “Troubleshooting” for more information.
Ice Maker and Storage Bin
- Following installation, allow 24 hours to produce the first batch of ice.
- Allow 2 to 3 days to fill the ice storage bin.
- For models with a water filter, after connecting the refrigerator to a water source or replacing the water filter, fill and discard three full containers of ice to prepare the water filter for use.
- The quality of your ice will be only as good as the quality of the water supplied to your ice maker.
- Avoid connecting the ice maker to a softened water supply.
- Water softener chemicals (such as salt) can damage parts of the ice maker and lead to poor-quality ice.
- If a softened water supply cannot be avoided, make sure the water softener is operating properly and is well-maintained.
- Do not use anything sharp to break up the ice.
- This can cause damage to the ice bin and the dispenser mechanism.
- Do not store anything on top of the ice maker or in the ice storage bin.
Ice Production Rate
Allow 24 hours to produce the first batch of ice. Discard the first three batches of ice produced. Allow 3 days to completely fill the ice storage bin. The ice maker should produce approximately 3 lbs (1.4 kg) (8 to 12 batches) of ice in 24 hours. To increase ice production, lower the freezer and refrigerator temperature, or see “Control Panel Descriptions” in the “Quick Start Guide” for details. Wait 24 hours between adjustments.
Ice Maker in the Freezer
- Turn the Ice Maker On/Off:
- Turn the Ice Maker On/off for the ice maker without a switch:
- To turn on the ice maker, simply lower the wire shut-off arm.
- To manually turn the ice maker off, lift the wire shut-off arm to the off (arm up) position and listen for the click.
- Your ice maker has an automatic shut-off.
- As ice is made, the ice cubes will fill the ice storage bin and the ice cubes will raise the wire shut-off arm to the off (arm up) position.
- Do not force the wire shut-off arm up or down.
For icemakers with a switch
For icemakers with a switch, use the switch to turn the icemaker on or off.: Turn off the ice maker before removing the ice storage bin to serve ice or to clean the bin. This will keep the ice cubes from dropping out of the ice maker and into the freezer compartment. After replacing the ice storage bin, turn on the ice maker. Wash the ice storage bin with mild soap and warm water. Slide the ice storage bin under the ice maker and push it toward the back as far as it will go.
Auto Ice Storage Bin
Your ice storage bin has a lever that allows the storage bin to slide out with the drawer when it is pulled open or to stay in place.
- Move the lever to the right to attach the ice storage bin to the freezer drawer.
- Move the lever to the left to release the ice storage bin from the freezer drawer.

Ice Maker in the Refrigerator
Left-Hand Refrigerator Door
The ice maker is located on the left-hand side of the refrigerator door. Ice cubes are ejected into the ice storage bin, located on the left-hand refrigerator door. Turn the Ice Maker On/Off
- Push up on the latch on the left-hand side of the ice compartment to open the door.

- Turn on the ice maker by moving the switch to the (left) on position.
- To manually turn off the ice maker, move the control to the off (right) position.
- Your ice maker has an automatic shut-off.
- The sensor will automatically stop ice production if the storage bin is full,
- If the door is open, or if the storage bin is removed.
- The control will remain in the on (left) position.

- Close the ice compartment door
Remove and Replace the Ice Storage Bin
- Remove the ice storage bin by inserting your fingers into the hole at the base of the bin and squeezing the latch to release the bin from the compartment. Lift the storage bin and pull it straight out.
- Replace the storage bin inside the ice compartment and push down to make sure it is firmly in place.
Upper Left-Hand Side of the Refrigerator Compartment
The ice maker and storage bin are located in the upper left-hand side of the refrigerator compartment. Some models have an on/off switch located on the ice maker.
Remove and Replace the Ice Storage Bin
- Hold the base of the storage bin and press the release button on the lower right.
- Pull out the storage bin until resistance is felt. Lift the front of the ice bin and remove it.
- Press the switch to Off (on some models).
To remove the ice storage bin, it may be necessary to turn the auger driver, behind the ice bin, counterclockwise to properly align the ice bin with the auger driver. The ice storage bin must be locked in place for proper ice dispensing.
- On position (on some models)
- Auger driver
Left-Hand Door Behind the Refrigerator Bins
The ice maker is located on the left door behind the bins. Ice cubes are ejected into the ice storage bin located on the left-hand refrigerator door.
Turn the Ice Maker On/Off
- Push up on the latch on the left-hand side of the ice compartment to open the door.

- Turn on the ice maker by moving the switch to the On (I) position.

- Close the ice compartment door
Remove and Replace the Ice Storage Bin
- Remove the ice storage bin by inserting your fingers into the hole at the base of the bin and squeezing the latch to release the bin from the compartment. Lift the storage bin and pull it straight out.
- Replace the storage bin inside the ice compartment and push down to make sure it is firmly in place.
Water Filtration System
Do not use with water that is microbiologically unsafe or of unknown quality without adequate disinfection before or after the system. Systems certified for cyst reduction may be used on disinfected waters that may contain filterable cysts.
Right-Hand Side of Refrigerator Ceiling
- Locate the accessory packet in the refrigerator and remove the water filter.
- Take the water filter out of its packaging.
- The water filter compartment is located on the right-hand side of the refrigerator’s ceiling.
- Push up on the compartment door to release the catch, then lower the door.
- Turn the filter clockwise 90° (1/4 turn) until it locks into the housing.
- If the filter is not correctly locked into the housing, the water dispenser will not operate.
- Water will not flow from the dispenser.
- While the compartment door is still open, lift the filter into the compartment.
- Then, close the filter compartment door completely.
- Flush the water system. See “Water and Ice Dispensers” for details.
Replacing the Water Filter
- If applicable, press upward on the water filter cover to access the filter.
- Turn the filter counterclockwise and pull straight out to remove.
- There may be some water in the filter. Some spilling may occur. Use a towel to wipe up any spills.
- Remove the sealing label from the replacement filter and insert the filter end into the filter head.
- Turn the filter clockwise until it stops. Snap the filter cover closed.
- Flush the water system. See “Water and Ice Dispensers” for details.
Reset Water Filter Status
After replacing the water filter, press and hold Reset Filter or Filter Reset (depending on your model) for 3 seconds. The Order and Replace indicator lights will blink and then go off when the system is reset. On some models, the indicator light will change to blue when the system is reset. See the “Quick Start Guide” for more information.
On models with Options and Measured Fill buttons located on the control panel:
After changing the water filter, reset the status light. Press the Options button to enter Options mode, then press Lock to initiate the reset, then press Measured Fill to confirm that you want to reset the status light. When the system is reset, the “Order” and “Replace” icons will disappear from the display screen.
On models with the Water Filter button located on the control panel
After changing the water filter, reset the status. Press and hold the Water Filter button for 3 seconds. When the system is reset, the water filter icon will return to Blue, and the words “Replace Filter” will disappear from the display.
DOOR AND HANDLE INSTRUCTIONS
Door and Drawers
Depending on the width of your doorway, you may need to remove the doors to move the refrigerator into your home. Also, the door hinges are factory-installed on the right-hand side. If you want the door to open from the other direction, you must reverse the door swing.
- If the refrigerator was previously installed and you are moving it out of the home, before you begin, turn the refrigerator control off, unplug the refrigerator, or disconnect power.
- Remove food and any adjustable door or utility bins from doors.
- Keep the refrigerator doors closed until you are ready to lift them free from the cabinet.
- Provide additional support for the refrigerator door while the hinges are being removed.
- Do not depend on the door gasket magnets to hold the door in place while you are working.
Reset Bottom Refrigerator Door Hinge
For your convenience, the refrigerator doors have bottom hinges with door closers. These closers allow the doors to swing fully closed with just a gentle push.
- Lift the door from the bottom hinge pin and place it on a flat surface.
- Using a driver with a #2 square bit, remove the bottom hinge with the bushing from the cabinet.

- Insert the bottom hinge and bushing into the corresponding slot in the bottom of the door.

- Turn the hinge until the hinge base is at a 90° angle to the bottom edge of the door.

- Remove the hinge from the door. Reattach the bottom hinge to the refrigerator cabinet.
- The hinge is now reset and prepared for the door to be replaced.
Replace Refrigerator Doors and Hinges
Right-Hand Refrigerator Door
- Set the right-hand door onto the bottom hinge pin.
- Insert the top hinge pin into the open hole in the top of the refrigerator door.
- Fasten the hinge to the cabinet. Do not tighten the screws completely.
Left-Hand Refrigerator Door
- Set the left-hand door onto the bottom hinge pin.
- Fasten the hinge to the cabinet. Do not tighten the screws completely.
- If applicable, reconnect the water dispenser tubing.
- Style 1 – Insert the tubing into the fitting until it stops and the outer ring is touching the face of the fitting.
- Style 2 – Insert the tubing firmly into the fitting until it stops. Close the clasp around the tubing. The clasp snaps into place between the fitting and the collar.
- Reconnect the electrical wiring. Push together the two sections of the wiring plug.
Final Steps
- Completely tighten the internal screws.
- Replace both top hinge covers.
Door Closing and Alignment
The base grille covers the adjustable brake feet and roller assemblies located at the bottom of the refrigerator below the freezer drawer. Before making any adjustments, remove the base grille and move the refrigerator to its final location. Tools Needed: 1/4″ hex driver. Tools Provided: 1/8″ hex key
Base Grille
- Using both hands, grasp the grille firmly and pull it toward you.
- Open the freezer drawer to access the brake feet.
- To allow the refrigerator to roll more easily, raise the brake feet by turning them counterclockwise.
- The front rollers will be touching the floor.

- Remove the two screws fastening the base grille to the cabinet and set the screws aside.
- Grasp the grille and pull it toward you.
- To allow the refrigerator to roll more easily, raise the brake feet by turning them counterclockwise.
- The front rollers will be touching the floor.

- Use a 1/4″ hex–nut driver to remove both screws in the base grille.
- Using both hands, grasp the grille firmly and pull it toward you.
- Open the freezer drawer to access the brake feet.
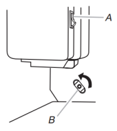
Adjust the Cabinet Tilt
- Open the freezer drawer. Use a 1/4″ hex driver to turn both brake feet clockwise the same amount. This will raise the front of the refrigerator. It may take several turns to allow the doors to close more easily.

- Make sure the doors are even at the top and that the space between the bottom of the refrigerator doors and the top of the freezer drawer is even. If necessary, align the doors.
Align the Doors
- Keeping both refrigerator doors closed, pull out the freezer drawer. Locate the bottom hinge pin of the right-hand refrigerator door. The alignment screw is inside the bottom hinge pin.
- Insert the short end of the 1/8″ hex key (packed with the Door Handle Installation Instructions) into the bottom hinge pin until it is fully engaged in the alignment screw. To raise the refrigerator door, turn the hex key to the right. To lower the door, turn the hex key to the left.
- Continue to turn the alignment screw until the doors are aligned.

- Make sure the refrigerator is steady. If the refrigerator seems unsteady or rolls forward when a door or drawer is pulled open, adjust the brake feet.
Steady the Refrigerator
- Open the freezer drawer. Using a 1/4″ hex driver, turn both brake feet clockwise the same amount until the brake feet are snug against the floor. Check again. If you are not satisfied, continue to adjust the brake feet by half turns of the screw until the refrigerator does not roll forward when the drawer is opened.
After making all appropriate adjustments, replace the base grille by aligning the ends of the grille with the leveling assemblies on each side and snapping the grille into place. Use a 1/4″ hex driver to reinstall screws if applicable.
Final Steps
- Plug into a grounded 3-prong outlet.
- Reset the controls. See “Control Panel Descriptions” in the Quick Start Guide for details.
- Return all removable door parts to the doors and the food to the refrigerator.
Align Refrigerated Drawer Fronts
When the drawer fronts are aligned, the width of the vertical space (A) between the refrigerator doors (B) and the drawer fronts (C) is the same thickness, and the drawers appear level.

Aligning the drawer fronts is a two-step process. The first step is to adjust the drawer fronts up and down. The second step shifts the drawer fronts from side to side. Visually inspect the refrigerator for alignment and adjust the drawer fronts as needed.
Adjust the Drawer Fronts Up/Down
Each refrigerated drawer can be adjusted up and down on both the left and the right sides.

Tools Needed: Phillips screwdriver
- With the drawers closed, identify the drawer front that needs to be raised or lowered.
- Open the drawer to its full extension and remove the interior bin.

- Locate the drawer glide brackets.

- Insert the Phillips screwdriver into the tightening screw and turn counterclockwise to loosen the drawer front.

- Insert the Phillips screwdriver into the adjusting screw to adjust the drawer front.
Left-Hand Side Drawer Glide 
- To raise the drawer front, turn the adjusting screw clockwise.
- To lower the drawer front, turn the adjusting screw counterclockwise.
Right-Hand Side Drawer Glide
- To raise the drawer front, turn the adjusting screw counterclockwise.
- To lower the drawer front, turn the adjusting screw clockwise.
- Insert the Phillips screwdriver into the tightening screw, and turn clockwise to tighten the drawer front.
- Close the refrigerated drawer to check the alignment. Repeat steps 2 through 6 until the drawer fronts are level.
Adjust the Drawer Fronts Side to Side
Each refrigerated drawer can be adjusted side to side on both the left and right sides.

- With the drawers closed, identify the drawer that is not aligned.
- Open the drawer to its full extent and remove the interior bin.
- Locate the drawer glide brackets.
- Starting with the glide bracket closest to the vertical gap, press and hold the release lever up.
- With your other hand, lift the door clip from the drawer glide bracket.

- Reposition the drawer front clip onto the drawer glide bracket in the direction you want to move the drawer front. Make sure that the glide bracket is vertically level.
- Release the lever to lock the glide bracket into position.
- Repeat steps 3 through 6 for the other side of the drawer front. Adjust the clip on the top of the second glide bracket so that it is in the same position as the side you adjusted first.
- Close the drawer and visually inspect the gap. Repeat steps 2 through 7 until the drawer fronts are aligned.
Application Guidelines/Water Supply Parameters
- Water Supply: Potable City or Well
- Water Pressure 30 psi-120 psi (207 kPa-827 kPa)
- Water Temperature 33°F-100°F (0.6°C-37.8°C)
- Service Flow Rate 0.70 GPM (2.65 L/min) @ 60 psi (413.7 kPa)
Your water filtration system will withstand up to 120 psi water pressure. If your water supply is higher than 80 psi, install a pressure-reducing valve before installing the water filtration system.

Care & Cleaning
Both the refrigerator and freezer sections Whirlpool W11468670e French Door Bottom Mount defrost automatically. However, clean both sections about once a month to avoid odor buildup. Wipe up spills immediately.
- Because air circulates between all sections, any odors formed in one section will transfer to the other. You must thoroughly clean all sections to eliminate odors. To avoid odor transfer and drying out of food, wrap or cover foods tightly.
- Do not use abrasive or harsh cleaners such as window sprays, scouring cleansers, flammable fluids, muriatic acid, cleaning waxes, concentrated detergents, bleaches, or cleansers containing petroleum products on doors and cabinets, plastic parts, interior and door liners, or gaskets. Do not use paper towels, scouring pads, or other harsh cleaning tools.
- For stainless steel models, stainless steel is corrosion-resistant and not corrosion-proof. To help avoid corrosion of your stainless steel, keep your surfaces clean by using the following cleaning instructions.
Cleaning the Touch Screen Display on the Dispenser Panel (on some models)
- Make sure the refrigerator is unplugged or the power is disconnected before wiping the screen to avoid unintentionally changing the settings.
- Mix a solution of mild detergent in warm water.
- Dampen a soft, lint-free cloth with the solution and gently wipe the screen.
- Do not spray or wipe liquids Whirlpool W11468670e French Door Bottom Mount directly onto the screen or over-saturate the cloth.
- Plug in the refrigerator or reconnect the power.
Interior
- Refrigerator shelves with under-shelf, LED lighting are not dishwasher safe.
- Unplug the refrigerator or disconnect the power.
- Hand wash, rinse, and dry removable parts and interior surfaces thoroughly.
- Use a clean sponge or soft cloth and a mild detergent in warm water.
- Plug in the refrigerator or reconnect power.
Exterior
Damage to the smooth finish due to improper use of cleaning products or using non-recommended cleaning products is not covered under the warranty. Sharp or blunt instruments will mar the finish.
- Unplug the refrigerator or disconnect power.
- Using a clean sponge or soft cloth and a mild detergent in warm water, wash, rinse, and thoroughly dry stainless steel and painted metal exteriors.
- To keep your stainless steel refrigerator looking like new and to remove minor scuffs or marks, it is suggested that you use the manufacturer’s approved stainless steel cleaner and polish.
- This cleaner is for stainless steel parts only.
- Refer to the “Quick Start Whirlpool W11468670e French Door Bottom Mount Guide” for ordering information.
- Plug in the refrigerator or reconnect the power.
Cleaning the Ice Dispenser Chute
Humidity causes ice to naturally clump together. Ice particles can build up until the ice dispenser chute becomes blocked. If ice is not dispensed regularly, it may be necessary to empty the ice storage bin and clean the ice delivery chute, the ice storage bin, and the area beneath the storage bin every 2 weeks.
- If necessary, remove the ice clogging the storage bin and delivery chute, using a plastic utensil.
- Clean the ice delivery chute and the bottom of the ice storage bin using a warm, damp cloth and dry thoroughly.
Smooth Door/Painted Metal
| DO USE | DO NOT USE |
| Soft, clean cloth | � Abrasive cloths � Paper towels or newsprint � Steel-wool pads |
| Warm, soapy water with a mild detergent | � Abrasive powders or liquids � Window sprays � Ammonia � Acidic or vinegar-based cleaners � Oven cleaners � Flammable fluids |
Stainless Steel
| DO USE | DO NOT USE |
| Soft, clean cloth | � Abrasive cloths � Paper towels or newsprint � Steel-wool pads |
| Warm, soapy water with a mild detergent | � Abrasive powders or liquids � Ammonia � Citrus-based cleaners � Acidic or vinegar-based cleaners � Oven cleaners |
| For heavy soil, use only a manufacturer’s approved stainless steel cleaner and polish | � Abrasive powders or liquids � Ammonia � Citrus-based cleaners � Acidic or vinegar-based cleaners � Oven cleaners � Abrasive cloths � Paper towels or newsprint � Steel-wool pads |
Condenser Cleaning
There is no need for routine condenser cleaning in normal home operating environments. If the environment is particularly greasy or dusty, or there is significant pet traffic in the home, the condenser should be cleaned every 6 months to ensure maximum efficiency.
- Unplug the refrigerator or disconnect the power.
- Remove the base grille.
- Use a vacuum cleaner with a soft brush to clean the grille, the open areas behind the grille, and the front surface area of the condenser.
- Replace the base grille when finished.
- Plug in the refrigerator or reconnect the power.
Customer Service
- Call: 1-866-986-3223 or
- Visit: whirlpoolwatersolutions.com


