KLARSTEIN 10040140 CLARA Cooker Hood

Safety Instructions
- Please read the instruction manual carefully before you use the cooker hood, and keep it in a safe place.
- Before you use the cooker hood, make sure that the voltage (V) and the frequency (Hz) indicated on the cooker hood are the same as the voltage and the frequency in your home.
- The manufacturer and the agent will not bear any responsibility for the damage caused by inappropriate installation and usage.
- Children under the age of 8 must not use the cooker hood.
- Before cleaning, switch the power off at the main supply.
- Clean the cooker hood according to the instruction manual and keep the cooker hood from the danger of burning.
- Prohibit putting the cooker hood near the fire.
- If the appliance does not function normally, contact the manufacturer or a specialist company.
- Do not flambé under the range hood.
- Accessible parts may become hot when used with cooking appliances.
Installation
- Lay the exhaust pipe as short and straight as possible.
- Do not use a smaller exhaust pipe, and do not constrict it.
- The angle of the bend of the exhaust air pipe should not be less than 120°.
- Align the pipe horizontally. Alternatively, the pipe should go up from the starting point and be led to an outer wall.
- Make sure that the exhaust duct selected for installation complies with the relevant standards and is fire-resistant.
- After installation, make sure that the cooker hood hangs horizontally to avoid one-sided accumulation of grease.

Mounting the backflow flap
- Install the first half (2) into the housing (6).
- The pin (3) should be facing upwards.
- The axle (4) is inserted into the holes (5) on the housing.
- Repeat all the steps for the second half of the flap.

Preparation
- Switch off the device before installation and pull the power plug out.
- The extractor hood should be placed at a height of 65-75 cm above the hob.

Installation with external ventilation
- After you have determined the height of the cooker hood, mark the position of the holes for the suspension of the cooker hood and the bracket for the inner chimney element.
- Drill 4 holes (Ø8): 2 holes for the support of the inner chimney element and 2 holes for the suspension of the extractor hood.
- Make sure that the cooker hood hangs straight.
- The attachment point for holding the inner chimney element marks the highest point of the inner chimney element.
- Insert dowels into the holes in the wall and screw 2 screws (4 x 30 mm) into the dowels to fix the cooker hood.
- Then use 2 screws (4 x 40 mm) to fix the bracket for the inner chimney element.

- Install the backflow flap and the extension pipe on the cooker hood. Secure the extension tube to the outlet with a cable tie.


- Install the bracket for the outer chimney element to the outer chimney element with 2 screws (4 x 8 mm). Make sure that the inner chimney element can be moved.

- Hang the cooker hood on the bracket screws. Adjust the position of the cooker hood. Secure the cooker hood in the desired position with 2 safety screws (4 x 30 mm).

- Adjust the height of the inner chimney element so that it is level with the bracket of the inner chimney element, and fasten the inner and outer chimney elements with 4 screws (4 x 8 mm).

Assembly
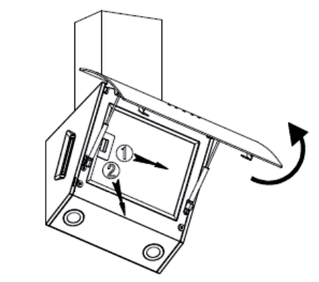
- Insert the filter into the slots on the back of the cooker hood.
- Press the button on the handle of the filter.
- Release the handle as soon as the filter is in the desired position.
- Repeat the above steps to install all filters.

- With an activated carbon filter, unpleasant food odours can be filtered out of the air in internally vented extractor hoods. As a rule, the activated carbon filter should be changed every 3 to 6 months, depending on your cooking habits.

- Before inserting the activated carbon filter, pull the power plug out of the socket. To be able to install the filter, you must first remove the grease filter. Press the fastener and pull it down.

- Put the activated carbon filter on the fan and turn it clockwise to tighten. Repeat the procedure on the other side. Make sure the filter is tight; otherwise, it could come loose and pose a hazard. Replace the grease filter and insert the plug into the socket.

Operation
Getting started
- After you have inserted the mains plug of the cooker hood into the socket, the backlight of all buttons goes on and the appliance beeps once.
- The LED screen is switched off. The cooker hood is not in operation and goes into standby mode.
Control panel and button functions
Maintainance & Cleaning
Switch off the extractor hood and pull the plug out of the socket before cleaning and maintenance. The outer surfaces are susceptible to scratches and stains. Therefore, do not use scouring agents for cleaning and wipe away residues of alkaline or acidic substances (lemon juice, vinegar) immediately after cleaning.
Stainless steel surfaces
- The stainless steel must be cleaned regularly to ensure a long service life.
- Use stainless steel cleaner for this purpose.
- Always wipe along the grain of the stainless steel to prevent criss-crossing scratch marks.
Control panel interface
- Before cleaning, make sure the cloth is clean and well wrung out.
- Use a dry, soft cloth KLARSTEIN 10040140 CLARA Cooker Hood to remove excess moisture after cleaning.
Monthly cleaning of the grease filters
- Clean the filter every month to avoid a fire hazard.
- The filter collects grease, smoke, and dust and thus influences the efficiency of the cooker hood.
- If the KLARSTEIN 10040140 CLARA Cooker Hood filter is not cleaned, grease residues will collect there.
- Clean the filter with water and a little washing-up liquid, and let it air dry afterwards.
Replacing the Lamp
- When handling light bulbs, make sure that they have cooled down completely before touching them.
- When changing the bulb, wear gloves or hold the bulb with a cloth to ensure that no sweat comes into contact with the bulb, as this can shorten the life of the bulb.
- Switch off the appliance and pull out the power plug.
- Open the glass cover and remove the grease filter. Put one hand into the cavity and carefully push out the LED light. Pull the light out from the outside with the other hand. Dismantle the lamp cable connector and remove the lamp.
- When installing the new lamp, proceed in reverse order.

Technical Data
- Item number 10040140, 10040141, 10040142, 10040143
- Power supply 220-240 V ~ 50/60 Hz
Troubleshooting
| Problem | Potential cause | Solution |
| The light turns on, but the engine does not run. | The fan is switched off | Set a fan speed. |
| The fan step button is defective. | Please contact customer service. | |
| The light is off, and the engine does not run. | Your house fuse has popped out. | Replace/reactivate the fuse. |
| The plug is not in the socket or is only loosely in the socket. | Plug the power plug securely into the wall socket. | |
| Oil leaks. | ||
| Leakage at the connection point of the chimney and the cover | Seal the chimney. | |
| The light doesn’t work. | The lamps are broken or damaged. | Replace the lamps. |
| The air is not extracted properly. | The distance between the hood and the stove is too far. | Reduce the distance. |
| The extractor hood hangs crooked. | The fastening screw is not tightened enough. | Align the cooker hood horizontally and tighten the fixing screw. |
Disposal
By disposing of it according to the rules, you are protecting the environment and the health of your fellow human beings from negative consequences. For information about the recycling and disposal of this product, please contact your local authority or your household waste disposal service.
Environmental Safety
- During cooking, make sure that there is sufficient air KLARSTEIN 10035380 ELEONORA Range Hood supply so that the cooker hood can operate efficiently and with low operating noise.
- Adjust the fan speed to the amount of steam produced during cooking. Use the intensive mode only when necessary.
- Switch off the cooker hood when you no longer need it.
- Switch off the lighting when you no longer need it.
- Clean the filter at regular intervals and replace it if necessary to increase the effectiveness of the ventilation system and prevent fire hazards.
- Always put the lid on when cooking to reduce cooking steam and condensation.
Customer Service
Manufacturer & Importer (UK)
- Manufacturer: Chal-Tec GmbH, Wallstrasse 16, 10179 Berlin, Germany.
- Importer for Great Britain: Berlin Brands Group UK Ltd PO Box 42 272 Kensington High Street, London, W8 6N, D United Kingdom
- Website: http://www.klarstein.com
- Scan the QR code to get access to the latest user manual KLARSTEIN 10035380 ELEONORA Range Hood and more product information.

Dear Customer
Congratulations on purchasing this device. Please read the following instructions carefully and follow them to prevent possible damage. We assume no liability for damage caused by disregard of the instructions and improper use.
FAQs
Q: What is the KLARSTEIN CLARA 10040140 Cooker Hood designed for?
Ans: In addition to eliminating cooking fumes, steam, and odours, the CLARA Cooker Hood is a contemporary wall-mounted kitchen extractor fan that gives your kitchen a sleek, glass and stainless steel appearance. Small to medium-sized kitchens are the perfect fit for it.
Q: What is the maximum extraction rate of the CLARA cooker hood?
Ans: During mild to moderate cooking, the CLARA KLARSTEIN 10040140 CLARA Cooker Hood effectively cleans the air with an extraction rate of up to 350 m³/h.
Q: Are carbon filters included with the product?
Ans: No, if you want to use the hood in recirculation mode, you will need to buy activated carbon filters separately.
Q: What type of lighting is included?
Ans: The hood has an integrated LED light that uses less energy and provides excellent vision over your cooking area.
Q: Can I install the cooker hood myself?
Ans: It is advised to have a qualified installer or electrician place the unit and perform any electrical connections, particularly for ductwork or hardwiring, even though it is feasible for someone with tool experience.
Q: Can the glass front panel be opened or tilted?
Ans: Indeed. Depending on the model version, the angled glass front panel design not only looks stylish but also makes filters and controls easily accessible.













