JAMO 3A2 All-Weather Satellite Speaker

Package content
- Speaker (2)
- Assembled bracket (2)
- Screw plug “g” (8)
- Port plug “i” (4)
- Thumb screw “j” (4)
- Covers “k” (4)
- Allen wrench (1)
- Manual (1)
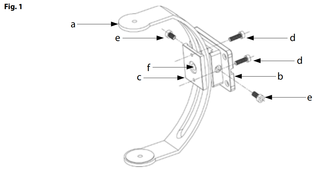
Brackets
The brackets come pre-assembled. If disassembling the bracket for painting, reassemble it as follows. Place the curved bracket (a) between the wall bracket (b) and wall bracket cover (c) as shown in Fig. 1. Insert two 1” albolts (d) through the wall bracket into the wall bracket cover and tighten with the supplied allen wrench. Insert

Mounting
The bracket can be mounted for horizontal or vertical placement of the speaker. Mount the bracket with four screws (not included) appropriate for the surface the bracket is mounted to (wood, brick, concrete, or other).To account for the weight of the speaker.
Mounting of port plugs
If the front of the speaker is exposed to rain that directly enters the bass reflex ports (under the
grill), the ports should be closed to avoid filling the speaker with water.
High moisture is not a problem. Remove the grill (h) from the speaker and insert two port plugs (i) into the bass ports. Reinstall the grill. The speaker will reproduce less bass with the ports closed.
For users looking to enhance low-frequency performance, you can pair the JAMO 3A2 All-Weather Satellite Speaker with the JAMO S-810 Sub Black Active Subwoofer for a richer bass experience.
Connecting speaker wires
Loosen speaker terminals by turning counterclockwise. Strip ½”/12 mm insulation from each wire. Twist strands on each wire to form “solid” wire.
Insert one wire into each terminal and tighten the terminal by turning clockwise. Make sure positive (+) is connected to the red terminal and negative (-) to the black terminal for correct phasing.
Adjustment of I/O 3T
This model is for 70V or 100V line installation. This is mainly used in commercial installations with many speakers and requires an amplifier with matching transformer outputs.
A switch located next to the terminals allows for adjustments of the level of the speaker in 10W, 5W, 2.5W, and 1.25W settings. Adjust the switch to the desired level on each speaker.
Mounting of the speaker
Place the speaker inside the curved bracket as shown in fig. 2 and insert thumb screws (j) through each end of the curved bracket into the speaker.
Adjust the speaker to the desired angle and tighten the thumb screws. Install the covers (k) over the thumb screws. The curved bracket can be adjusted in the wall bracket by loosening the two ½” allen bolts (e) and re-tightening them after adjustment.

Painting
Paint all parts before assembling. Remove the grill from the speaker before painting and cover the front baffle (l) of the speaker. Apply many thin coats instead of a few thick coats to avoid the paint running or clogging the grill holes. Reinstall the grill after painting.
Specifications

Warranty
Service. In case of warranty enquiries, please contact your dealer/installer. In case of a request for
service under warranty, please enclose your original receipt and make sure that the serial number
The product is readable.
Terms of Warranty
- Nothing in this warranty shall limit your statutory rights.
- The warranty is only valid on presentation of the original sales receipt or other valid proof of purchase, and provided that the serial number on the product is fully legible.
- Jamo shall, at its option during the relevant warranty period, either repair or replace defective
components. - In no circumstances shall Jamo be liable in contract, tort (including negligence) or breach of statutory duty or otherwise for loss of profits, loss of revenue, loss of data, loss of business or loss of anticipated savings or for any consequential loss whatever.
- The warranty does not cover the following:
- Periodic inspection, maintenance, and repair, or replacement of parts resulting from normal wear and tear.
- Costs connected to delivery to the dealer, disassembly, or re-installation of the product.
- Damage caused by lightning, water, fire, natural catastrophes, war, insurrection, incorrect line voltage, insufficient ventilation, transport, or other causes outside of the control of Jamo.
- This warranty applies to every legal owner of the product during the warranty period.
Customer Support
- Ph: 1-800-554-7724
- Email: support@jamo.com
- Website: https://www.jamo.com/
FAQs
Q: Can I mount these speakers on walls, ceilings, or poles?
Indeed, there are several mounting alternatives available for the 3A2. Use the proper hardware for your surface type and make sure the mounting is secure.
Q: Can I use these speakers in extreme temperatures?
Extreme heat or ice can harm internal components, so avoid extended exposure to temperatures above the manufacturer’s recommended range.
Q: How do I prevent water damage over time?
During installation, make sure the slope is correct to prevent water from collecting on or close to the speaker. In high-rain locations, seal mounting holes with silicone sealant. When there is a lot of rain or snow, think about wearing protective clothing.
Q: Why does the speaker sound muffled outdoors?
Look for anything that can obscure sound, such as walls, plants, or furniture. Look for debris on the grille that could interfere with sound production.
Q: How can I optimize stereo imaging with multiple speakers?
Place the speakers on the left and right at the same distance from the listening area.



1 Comment
Pingback: JAMO MPA-101 Multi-Purpose Amplifier | Setup & User Manual