Russell Hobbs RHDH1101 Air Pro and Dehumidifier

Safety Instructions
- It is hazardous for anyone other than a competent person to carry out any service or repair operation that involves the removal of a cover that gives protection against exposure to electrical parts.
- This product is intended for household use only. Do not use outdoors.
- Cleaning and user maintenance should not be made by children without supervision.
- Do not operate this appliance for anything other than its intended use.
- Do not immerse the whole unit in water or other liquids for cleaning.
- Unplug from the outlet when not in use. Do not leave unattended while plugged in.
- Do not use if it has been dropped, damaged, left outdoors, or dropped into water.
- Do not handle the appliance with wet hands.
- To protect against electrical shock, do not immerse the cord, plug, or appliance in water or other liquid.
- Unplug from the mains outlet when not in use, before putting on and taking off parts, and before cleaning.
- Only use the unit when fully assembled.
- Never place your fingers or other objects into any part of the appliance.
- Be aware that loose clothing or hair may become trapped in the appliance if improperly used.
- Before use, ensure that all of the air vents of the appliance are clear and there is no restriction of air flow.
Parts

- HEPA Filter
- Filter Cover
- Water Tank
- Speed Setting
- Dehumidifier On/Off Button
- Main On/Off Button
Assembly
- Check that the Water Tank [3] is correctly installed and does not have any packaging inside.
- Replace the Water Tank [3] with the Dehumidifier.
- Plug into the Mains Plug Socket.
- Power on by pressing the On/Off Button [6].
- Light will illuminate the top section, and the Air Purifier is now operating.
- To turn the Light Indicator On or Off, press the On/Off Button [6]. Press again to switch the unit off.
Water Tank
The water tank has a maximum capacity of 1000ml and an operating capacity of 750ml/day. When the Water Tank is full, the Light illumination will turn red and begin flashing, and the unit will stop operating.

Installing the Filter

Ensure the filter is the correct direction when installing.

Operation Instructions
Press the Power Button to turn on the Air Purifier. The light will then glow on the top section.
Press the Power Button again to turn the light off, but keep the Air Purifier working.
To begin dehumidification, press the Dehumidifier button. To adjust the fan speed of the air purifier, press the Fan Speed button to select Low, Middle, or High-speed purification/dehumidification.
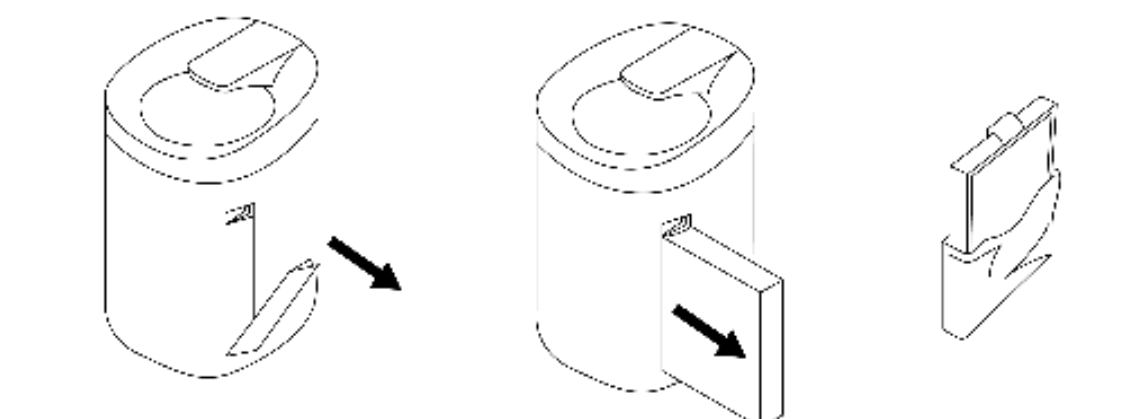
Emptying the Water Tank
Ensure the appliance is switched off at the mains. Do not tilt the dehumidifier when the tank is full.

Troubleshooting
The air purifier/dehumidifier doesn’t switch on
- Check if the water tank is full and empty if full.
- Check that the dehumidifier is plugged in
- Check that the socket is switched on
- Check another appliance in the socket
- Unplug and check for any obvious signs of damage to the cord or plug
- If there is frost on the surface, allow it to defrost.
- If recently used, allow to Russell Hobbs RHDH1101 Air Pro and Dehumidifier to cool for 1 hour, then try again.
- The air purifier/dehumidifier is rattling
- Check that the water tank is secured properly
- Check that there is nothing in contact with the dehumidifier
- The air purifier/ dehumidifier is making a grinding sound
- Immediately switch off and contact Customer Services
- The light hasn’t turned on
- Check that the appliance has switched on as the first solution above.
- Press the Power Button and/or the Dehumidifier Button
- The filter is clogged/air is musty
- You can clean the filter by lightly brushing or vacuuming, taking care not to damage i.t
Warranty Information
(Applies only in the United States and Canada) For service, repair, or any questions regarding your appliance, please call our Customer Service. Please DO NOT return the product to the place of purchase. Also, please DO NOT mail the product back to the manufacturer, nor bring it to a service center.
What does it cover?
Any defect in material or workmanship provided; however, the liability of Spectrum Brands, Inc. will not exceed the purchase price of the product.
How long is the warranty valid?
- In the United States: Two years from the date of original purchase with proof of such purchase.
- In Canada: Two years from the date of original purchase with proof of such purchase.
What will we do to help you?
- Provide you with a reasonably similar replacement product that is either new or factory refurbished.
How do you get service?
- Save your receipt as proof of the date of sale.
What does your warranty not cover?
- Damage from commercial use
- Damage from misuse, abuse, or neglect
- Shipping and handling costs associated with the replacement of the unit
- Consequential or incidental damages (Please note, however, that some states do not allow the exclusion or limitation of consequential or incidental damages, so this limitation may not apply to you.)
How does state law relate to this warranty?
- This warranty gives you specific legal rights.
- You may also have other rights that vary from state to state or province to province.
Customer Service
- Website: www.prodprotect.com/russellhobbs
- Tel: 1-800-947-3744
FAQs
Q: What is the Russell Hobbs RHDH1101 Air Pro and Dehumidifier?
The RHDH1101 is a multipurpose device that functions as both an air purifier and a dehumidifier. It lowers mould and mildew, eliminates excess moisture from the air, and enhances indoor air quality in general.
Q: Can I use the unit continuously?
Yes, but it needs to be maintained regularly. If the water tank is used in extremely humid conditions, empty it every day and clean the filter as needed to keep it operating efficiently.
Q: What is the ideal room size for this unit?
Rooms up to 20–25 square meters can be used with the RHDH1101. It might be less effective when used in larger spaces, and more than one unit would be needed for best results.
Q: Can the unit prevent mold and mildew?
Yes, the dehumidifier helps avoid mould, mildew, and musty smells by keeping interior humidity at appropriate levels (40–60% RH).
Q: Is the unit noisy?
On low settings, the RHDH1101 runs silently. Although it is intended for use in living rooms or bedrooms, noise levels may significantly increase in high fan or turbo mode.
Q: Can I use the unit in very cold rooms?
The unit can be used inside at temperatures between 5°C and 35°C. Water freezing may occur while operating below 5°C, which could impact performance.
Q: Can the water collected be used for other purposes?
Indeed, but the water isn’t purified for human consumption. If you don’t eat it, you can use it to clean or water plants.
Q: Are replacement parts available?
Indeed. You may buy replacement water tanks, filters, and other parts from authorised merchants or the official Russell Hobbs website. To ensure effectiveness and safety, only use authentic parts.


