Anko AD-320R Single Edge Shave Trim Set

Safety Instructions
- Only use the appliance as described in this manual.
- This appliance contains batteries that are non-replaceable.
- Do not immerse the appliance in water or any other liquid; the product is splash-proof only.
- Do not allow the appliance to be exposed to rain or moisture during use or storage.
- Always check the appliance for damage before use.
- If any damage is observed, DO NOT use the appliance.
- The appliance is intended for indoor use only.
- Always switch the appliance off after use.
- This appliance has no user-serviceable parts. Do not attempt to access the appliance covers.
- This appliance is for personal use only, not designed for commercial use. Do not use it outdoors.
- Before using the appliance, ensure that the clipper head/ trimmer head is securely fitted.
- Children are supervised to ensure that they do not play with the appliance.
- Do not operate if it is not working properly, has been dropped or immersed in any liquid.
- Only charge the appliance with the USB cable that was supplied with the appliance.
- When charging the appliance, make sure it is switched OFF.
- Check that your supply voltage is the same as that stated on the trimmer.
- When charging the appliance, the power switch must be OFF.
- It is normal for the charger to become warm to the touch when charging.
- This product contains sharp blades; please take the utmost care in handling and use.
- Do not stretch, twist or curl the cable around the appliance.
Parts

- Dual blade trimmer
- On/Off switch (3 & 6mm)
- Indicator light
- Nose & Eyebrow trimmer
- Beard trimmer (0.5-11.5mm)
- Foil shaver
- Comb attachment for Eyebrow trimmer (3 & 6mm)
- Comb attachment for beard trimmer
- Protection cap for foil shaver
- Adjustable comb for trimmer
- Cleaning brush
- USB cable
Charging
DO NOT allow to charge for more than 2 hours. Normal charge takes approximately 1.5 hours. If any abnormality occurs during charging (such as a burning smell or excessive heat, or even a strange sound), immediately turn off the charger and disconnect the USB cable.
- Plug the small end of the USB cable directly into the bottom of the appliance.
- Plug the large end of the USB cable into your 5Vdc. 1A USB charger (not supplied) and switch it on.
- The Charging Indicator will illuminate RED, indicating the battery is charging.
- When fully charged, the Charging indicator will show WHITE.
- Unplug the USB charging cable from the appliance.
Operation
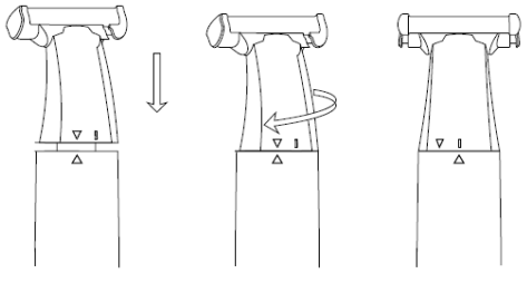
Changing the attachment
Switch off the device before you attach or remove the attachments. Rotate the trimmer head until the indicator “Δ” is aligned. Pull to detach the trimmer head.
Align the indicator “Δ” to insert the trimmer head. Rotate the trimmer head until the indicator “I” is pointed to “Δ”.
Dual Blade Trimmer
- Insert the comb attachment. Turn the dial to adjust the desired length. Turn on the trimmer.
- Start by cutting hair in the neck or on the sides and cut towards the centre of the head.
- Then, cut the front section of the hair towards the centre of the head.
- Hold the device so the comb attachment rests flat on the head.
- Move the device evenly through the hair.
- If possible, cut against the direction of hair growth.
- To catch all the hair, move the device several times through the same section of the hair.
- Comb the hair repeatedly and well.
Beard Trimmer
- Insert the comb attachment with the desired length.
- Press carefully over the trimming head until it locks into place.
- Comb the beard in the direction of growth.
- Cut the beard from the ear to the chin downward.
Foil Shaver
- Before using the shaver, always check it for wear and damage.
- If the shaver shows signs of wear or damage, do not use it as it may cause injury.
- Pre-trim the contours desired with the hair trimmer or precision trimmer.
- Gently press the shaver onto the skin and shave along the contoured edges to remove any stubble.
- Any areas that are harder to shave, such as the chin, stretch the skin for a better result.
Nose & Eyebrow Trimmer
- For nose trimming, slowly insert the metal tip into one of your nostrils.
- Move the device in circles to cut the hair.
- For Eyebrow trimming, 2 attachment combs are available.
- The big comb for body hair trimming and the small comb for eyebrow trimming.
- Close the blade head to your skin, and move the trimmer in the opposite direction of the hair growth when cutting.
Travel lock
- To lock: Press and hold the On/Off switch for 3 seconds, then release.
- To unlock: Press and hold the On/Off switch for 3 seconds.
- The device will unlock and turn on. At this time, release the On/Off button.
Cleaning & Maintainance
- Always switch OFF the trimmer before cleaning.
- Remove the accessory and the used blade.
- Clean it with the cleaning brush supplied with the product, then rinse under tap water.
- Dry thoroughly before reinstalling to the main unit.


- Separate the foil from the cutting blade Anko AD-320R Single Edge Shave Trim Set by pressing both side buttons.
- Carefully clean using the cleaning brush provided.

- Use a damp cloth to clean the main unit, then dry it thoroughly.
- Store the groomer and attachments in the pouch to prevent damage.
Technical Specifications
- Working time Approx.1.5 hour
- Charging time Approx.1.5 hour
- Input voltage 5V ⎓ 1.0A
- Battery type Li-ion, 600mAh, 3.7V x1 cell
- Water resistance IPX5
Disposal
Do not dispose of this product with normal household waste collection. If unsure, contact the local council waste management service for proper disposal facilities available for your area. a
Warranty
This warranty is in addition to your rights under the Australian Consumer Law. For New Zealand customers, this warranty is in addition to statutory rights observed under New Zealand legislation.
We will provide you with your choice of a refund, repair (where possible) or exchange (availability dependent) for this product if it becomes defective within the warranty period. The business will bear the reasonable expense of claiming the warranty. This warranty will no longer apply where the defect is a result of alteration, accident, misuse, abuse or neglect.
Please retain your receipt as proof of purchase and contact our Customer Service Centre as listed below, for the entity you purchased this product from, for any difficulties with your product.
Customer Service
- Website: https://ankoglobal.com/
- Ph: +1 800-446-2656
FAQs
Q: Is the razor suitable for sensitive skin?
Indeed. Single-edge razors reduce irritation by providing a clean, accurate shave with fewer passes. It protects delicate skin when combined with a high-quality shaving cream or gel.
Q: Can I use the trimming attachment on longer facial hair?
Indeed. The purpose of the trimming attachment is to trim and shape longer hair before shaving. Trimming lengthy hair gradually over time produces better results.
Q: How do I insert or replace the blade?
As directed, carefully open the razor head, insert the replacement blade, and shut it firmly.
Q: How often should I replace the blade?
Every five to ten shaves, or sooner if you observe tugging, dullness, or uneven cutting, replace the blade. It could be necessary to replace thicker hair more frequently.
Q: Can I use the razor for both face and body grooming?
Yes, but it’s best to use different blades for different areas for hygienic and safety reasons. The trimming attachment is ideal for minor body parts, the neckline, and the borders of the face.
Q: Is the AD-320R waterproof?
However, if the handle has any moving parts or non-metal pieces, do not submerge the entire handle.



