LIVARNO IAN 459049_2401 Led Solar Light

Introduction
Congratulations on the purchase of your new product. You have chosen a high-quality product. Please read these operating instructions thoroughly and carefully. These instructions are an essential part of the product and contain important information on first-time use and handling. Always observe all safety instructions. If you have any questions or are unsure how to operate the product, please contact your retailer or service centre. Please keep this manual in a safe place and pass it on to third parties where necessary. Name of product as referred to below: “Spotlight”
Explanation of Symbols
- Read the operating instructions!
- Issue date of instruction manual (month/year)
- Date of manufacture (month/year)
- Direct current
- Risk of fatal injury and accidents for infants and children!
- Observe warning notices and safety instructions!
- Explosion hazard!. Wear protective gloves!
- Protected against ingress of dust (dust-proof, fully contact-proof) and jet-proofed from any direction
- Any protective cover that is cracked or split must be replaced.
- Not suitable for indoor lighting. Detection range. Detection angle
- Dispose of packaging and product in an environmentally friendly manner!
- Risk of environmental damage from the incorrect disposal of batteries/rechargeable batteries!
- Packaging made of FSC-certified wood mix
- Address of supplier
Intended use
The product is intended for automatic illumination in outdoor areas (e.g garden, patio, etc) The product must not be installed indoors, as the battery cannot then be charged. The product is not suitable for general indoor lighting in the home. This product is intended for use in private households only. Any type of use other than that described above or any modification of the product is prohibited and likely to cause damage or even personal injury. The manufacturer or retailer accepts no liability for loss or damage that occurs as a result of use other than intended or incorrect use.
Specifications supplied
Model 1262-B
- 1 x LED solar floodlight with motion sensor
- 1 x Set of fixings (2 wall plugs and 2 screws)
- 1 x Instruction manual
Model 1262-S
- 1 x LED solar floodlight with motion sensor
- 1 x Spacer
- 1 x Set of fixings (2 wall plugs and 5 screws)
- 1 x Instruction manual
Description of parts
- LED module
- Solar panel
- Guide holes
- Motion sensor
- Switch
- Floodlight star knob
- Screw
- Wall plug
- Spacer (1262-S)
- Spacer star knob (1262-S)
- Screw (1262-S)
- Spacer guide holes (1262-S)
Safety instructions
- Do not let children play with the product.
- Cleaning and maintenance may not be carried out by children without proper supervision
- Do not use the product if you notice any damage
- Do not immerse the product in water or any other liquids
- Keep the product away from naked flames and hot surfaces
- The LED module 1 is not replaceable
- Keep batteries/ rechargeable batteries out of the reach of children.
- If swallowed, seek medical advice immediately!
- The battery can be replaced by specialised personnel
- Never throw batteries/rechargeable batteries into fire or water.
- Do not expose the batteries/rechargeable batteries to mechanical stress
- Therefore, wear suitable protective gloves in such cases
- If a battery leaks, remove it from the product immediately to avoid damage
Assembly and installation
The fixings included are suitable for conventional solid masonry. If necessary, you should seek the advice of an expert.
- Ensure the product illuminates the desired area.
- Make sure that the motion sensor 4 covers the desired area
- The motion sensor has a maximum detection range of 10m with a field of view of approximately 120°
- Ensure that the motion sensor 4 is not in a position where street lighting will shine on it at night.
- This may impair the function
Orientation: The optimum alignment is facing south. Choose an orientation facing slightly to the west rather than slightly to the east
Mounting the Spotlight
- Transfer the positions of the guide holes 3 to the mounting point on the wall (see Fig A)

- Drill two holes (dia 6mm) and insert the matching wall plugs 8 (see Figs C and G)

- Screw the screws 7 into the wall plugs 8, leaving a gap of approx 3mm between thescrew head and the wall
- Slot the guide holes 3 over the screws and then slide the Spotlight along the guides to fix it in place.
- If necessary, adjust the gap between the screw heads and the mounting surface to provide a firm seating for the Spotlight.
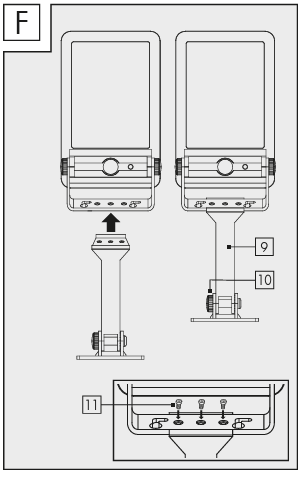
Model 1262-S with a spacer
You have the option of mounting the Model 1262-S with a spacer.
- Screw the spacer 9 securely onto the floodlight using the screws 11.

- Screw the spacer 9 securely in place by inserting the screws 7 through the guide holes 12 into the wall plugs 8 and firmly tightening them.
The Spotlight can be adjusted horizontally (top/bottom) to an angle of up to 180°.
- Loosen the two Spotlight star knobs 6 to adjust the Spotlight.

- When the desired position is obtained, tighten the star knobs again. If necessary, use a screwdriver to hold the screw while tightening the star knob (due to the design, we recommend using an offset screwdriver)
Positioning
The Spotlight can be adjusted horizontally (top/bottom) to an angle of up to 180° 
- Loosen the spacer star knob 10 to adjust the height of the floodlight (see Fig. H).
- When the desired position is obtained, tighten the star knob again
- Loosen the Spotlight star knob 6 to adjust the angle.
- When the desired position is obtained, tighten the star knob again.
- If necessary, use a screwdriver to hold the screw while tightening the star knob (due to the design, we recommend using an offset screwdriver)
Charging the Battery
- The battery is charged in all operating modes.
- To optimise initial charging, charge the product while it is turned off.
- The duration of the charging process depends on the battery‘s charge level and the quality of the sunlight.
Operation
The product can be operated in three different modes. The operating mode is set by means of the switch
Mode 1,2 & 3
- Press and hold the switch 5 for 3 seconds to switch to “Mode 1”
- The floodlight will light up once and remain lit at low brightness
- After approx. After 15 seconds, the floodlight will light up again at low brightness.
Troubleshooting
- Fault
- Cause
- Solution
- The product fails to switch on
- Press the switch to turn on the product (see section “Operation”)
- The light is flickering.
- Charge the battery (see section “Charging the battery”)
Cleaning and Storage
- Switch the product off if you want to stop using it, LIVARNO IAN 459049_2401 Led Solar Light, store it away and/or clean it
- Regularly inspect the motion sensor 4 and the solar panel 2 to make sure they are not dirty.
- Remove any dirt to ensure the product works correctly
- Keep the product and especially the solar panel free of snow and ice in winter
- Use only a dry, lint-free cloth for cleaning If the product is very dirty, dampen the cloth slightly.
Disposal
Return batteries and/or the product to the local recycling facilities provided.
Warranty
Dear customer, This product comes with a 3-year warranty. LIVARNO IAN 459049_2401 Led Solar Light from the date of purchase. If this product is faulty, you have legal rights against the seller of the product. No new warranty period shall begin upon repair or replacement of the product.
Warranty processing
- Please have the receipt and the article number (e.g IAN 123456) ready as proof of purchase for all enquiries
- Please refer to the type plate on the product, an engraving on the product, the cover of the manual (bottom left) or the sticker on the back or base of the product to find out the product number.
- In the case of any malfunctions or other defects, please call or email the service department indicated below as a first step.
- Please include the proof of purchase (receipt) and information about the defect and when it occurred.
Customer Service
- Tel: 00800 80040044
- E-Mail: administration@mynetsend.de
FAQs
Q: What are the main features of this solar light?
A solar-powered LED light intended for outdoor use is the LIVARNO IAN 459049_2401. It uses sunlight to automatically charge during the day and turns on at night. It has weather-resistant housing, energy-efficient LEDs, and simple installation.
Q: How long does the light stay on after a full charge?
The LED light can run for six to ten hours on a full solar charge, depending on the amount of sunlight, the state of the battery, and the outside temperature.
Q: What type of battery does it use?
A rechargeable Ni-MH or Li-ion battery powers the light (see the label for your particular model).
Q: Can the light be mounted on walls or fences?
Indeed. The majority of units have mounting options for garden posts, fences, or walls. For the best exposure to sunlight, make sure the solar panel is facing upward and firmly secured.
Q: Is it energy-efficient?
Of course. It is both economical and environmentally good because LED technology uses very little energy, and the solar panel generates free, renewable power.
Q: How long does the LED last?
Depending on the climate, the LED’s rating of up to 50,000 hours means that it can endure for several years with consistent use.







