
AVANTCO 177EMBS65SS Meat Saw Cleaning
Safety Instructions
- Use a grounded outlet with the correct voltage. Do not use an extension cord.
- Do not immerse cords, plugs, or the equipment in water or other liquids.
- Keep cords away from wet areas and avoid hanging over counters to prevent tripping hazards.
- Replace cords only with the manufacturer’s cord set.
- Instruct and train users in safe and correct operation.
- Do not modify the settings or components outside of the manufacturer’s specifications.
- Ensure all operational or safety labels are visible and legible. Do not remove any labels.
- Regularly inspect the for signs of wear, damage, or malfunction, and address any issues promptly.
Blade Replacement
- Some maintenance can be done on an as-needed basis.
- Before performing any maintenance or cleaning, turn off the unit and unplug it from the electrical outlet.
- Give time for the machine to cool completely before inspecting the unit and blade for breakage or corrosion.
- Open the upper and lower cavity doors.

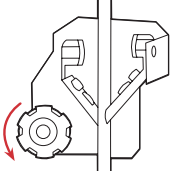
- Loosen the tension knob at the top to take
the blade off the wheels.
- Loosen the scraper protection knob just enough to take the scraper off the machine.

- Clean the blade and scraper with hot water and a brush. Note: Follow the instructions on How to Clean Avantco Meat and Bone Saw Parts on page 1.
- Once dry, replace the scraper and tighten it in place by adjusting the scraper protection knob.
- Place the new blade over both wheels, facing forward with the teeth flush with the edge of the wheel.
- Secure the blade in place by tightening the tension knob.
- Close both the upper and lower cavity doors.
Cleaning & Maintenance
- Before beginning to clean, turn off the unit and unplug it from the electrical outlet.
- Wear cut-resistant gloves during cleaning for safety.
- Remove any excess food material and discard it.
- Inspect the unit and blade to ensure there is no breakage or corrosion.
- Wipe down all surfaces with hot, soapy water. Let the unit air dry completely before next use.
- Remove any excess product from the scraper.
- Remove the scraper by loosening the scraper protection knob. Then, pull the scraper blades toward you to remove them from the machine.
Cleaning
- Clean and remove excess product from the scraper.
- Wipe down all touched surfaces.
- Remove all excess product buildup.
How To Clean Parts
- Use a standard, three-compartment sink cleaning method.
- Wash the parts in hot, soapy water with a long-bristle brush.
- Rinse all parts with hot water.
- Sanitize all parts with Noble Sanitation AVANTCO 177EMBS65SS Meat Saw Cleaning Cleaner (Noble Chemical QuikSan Sanitizer).
Monthly Cleaning
- Before beginning to clean, turn off the unit and unplug it from the electrical outlet.
- Wear cut-resistant gloves during cleaning for safety.
- Inspect the unit to ensure there is no breakage or corrosion on any parts.
- For best performance, clean the blades with hot, soapy water and towel dry.
- Once dry, apply a coat of food-grade oil on the blades to prevent rusting.
Customer Service
- Website: https://www.avantcoequipment.com/
- Tel: 717-381-4844
FAQs
Q: How often should I clean the Avantco 177EMBS65SS Meat Saw?
Ans: The meat saw should be cleaned after each use, or at least once every day if it is being used continuously.
Q: Can the blade be removed for cleaning?
Ans: Indeed. It is necessary to remove the detachable saw blade for a complete cleaning. Wear protective gloves and always adhere to the manual’s directions for removing blades.
Q: Can I use a pressure washer or hose to clean the saw?
Ans: The warranty may be voided if water is forced into electrical components; therefore, avoid using a hose or pressure washer. Always use rags, brushes, and a sanitising solution to manually clean parts.
Q: Are any components dishwasher safe?
Ans: No, every component needs to be manually cleaned. Over time, parts may deform or deteriorate due to the high heat and chemicals found in dishwashers.
Q: How should I dry the parts after cleaning?
Ans: Dry each part with fresh, lint-free towels. In a polluted environment, never let pieces air dry. Before reassembling, make sure every part is totally dry.
Q: Can I clean the meat saw while it’s plugged in if it’s turned off?
Ans: No. Before cleaning, always unplug the appliance.
Q: How do I keep the cutting surface from getting scratched?
Ans: When cleaning, use non-metallic pads and scrapers. Steer clear of harsh abrasives like steel wool, as they can harm the stainless steel finish.
Q: Who do I contact if I need replacement parts or service?
Ans: For authorised replacement parts, blade replacements, or technical support, contact Avantco’s customer service or consult the instruction manual’s contact section.





