Oster TSSTTVFDDAF Digital Air Fry Oven
Safety Instructions
- Read all instructions before using this product.
- This appliance generates heat during use. Do not touch hot surfaces.
- Use handles or knobs. Always protect your hands with non-slip oven mitts or similar.
- Close supervision is necessary when any appliance is used near children.
- Children should not play with the appliance.
- Do not attempt to replace or splice a damaged cord.
- Return appliance to the manufacturer (see warranty) for examination, repair, or adjustment.
- Do not use outdoors or for commercial purposes.
- Do not let the cord hang over the edge of the table or counter, or touch hot surfaces.
- Do not use the appliance for anything other than its intended use.
- Misuse can cause injuries. Intended for household countertop use only.
- Keep 6 inches (152 mm) clear from the wall and on all sides.
- Always use the appliance on a dry, stable, level surface.
- Do not store any item on top of the appliance when in operation.
- Do not clean with metal scouring pads.
- Pieces can break off the pad and touch electrical parts, creating a risk of electric shock.
- Empty the crumb tray after each use.
- The glass door is made of tempered glass.
- Always inspect the glass door for chips, cracks, or any other damage.
- Do not use the countertop oven if the glass door is damaged, as the glass may shatter during use.
Power Cord Instructions
A short power-supply cord or detachable power-supply cord is provided to reduce risks resulting from becoming entangled in or tripping over a longer cord. Longer detachable power-supply cords or extension cords are available and may be used if care is exercised in their use. If a long detachable power-supply cord or extension cord is used:
- a. The marked electrical rating of the cord set or extension cord should be at least as great as the electrical rating of the appliance;
- b. The cord should be arranged so that it will not drape over the countertop or tabletop where it can be pulled on by children or tripped over unintentionally; and
- c. If the appliance is of the grounded type, the cord set or extension cord should be a grounding-type 3-wire cord. Do not pull, twist, or otherwise abuse the power cord.
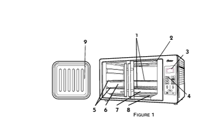
Features of Your Countertop Oven

- Removable Wire Racks/Broil Rack
- Interior Light
- Time Display
- Control Buttons
- Two Rack Positions
- Easy Clean Interior Walls
- Glass Doors
- Internal Removable Crumb Tray
- Baking Pan
Control Buttons
- Bake – Select to bake.
- Turbo – Select to bake with convection.
- Broil – Select to Broil.
- Toast – Select to toast bread, bagels, etc.
- Pizza – Select to bake a large pizza.
- Defrost – Select to defrost foods.
- Dehydrate – Select to dehydrate foods
- Timer <<– Adjusts time, temperature, or toast shade.
- Temp <<– Adjusts temperature.
- Clock – Sets the Oven Clock.
- Stop/Cancel – Stops heating or cancels the unction.
- Start – Starts baking/cooking process.
Preparing To Use
- If you are using your countertop oven for the first time, please be sure to:
- Remove any stickers from the surface of the oven.
- Open the oven door and remove all printed documents and paper from inside the countertop oven.
- Clean the rack, tray, and pan with hot water, a small amount of dishwashing liquid, and a non-abrasive sponge or cleaning pad.
- Dry the unit thoroughly before using.
- Select a location for the countertop oven. The location should be in an open area on a flat counter where the plug will reach an outlet.
- Plug the countertop oven into a 120 Volt AC electrical outlet.
Using the Device
- Push the Clock button. The clock will flash.
- Use the arrow keys to set the hour. Push the Clock button again.
- Use the arrow keys to set the minutes.
- Push the Clock button once more or the start button, and the time will be set.
- Place the oven rack into the desired position before heating the oven.
- This oven has a preheat feature in Turbo Convection Bake and Bake mode.
- Select the mode, Turbo Convection or Bake. Use the temp arrow keys to select the desired temperature.
- Use the timer arrow keys to select the desired time. Push the Start button.
- The display will show PrE until the temperature is reached, the oven will beep, and display the remaining time.
To Use the Function
- Place the oven rack into the desired position before heating the oven.
- Arrange food on the wire rack or in the baking pan.
- Push the Bake button. Use the Temperature arrow keys to select the desired temperature. Use the Time arrow keys to select the desired time.
- Push the Start button. The oven will go into the preheat mode. To bypass the preheat mode, press the start button a second time.
- The interior light turns on when the timer is on. At the end of the cooking cycle, the light turns off automatically.
One-Year Warranty
Sunbeam Products, Inc., or if in Canada, Sunbeam Corporation (Canada) Limited (collectively “Sunbeam”) warrants that for a period of one year from the date of purchase, this product will be free from defects in material and workmanship. Sunbeam, at its option, will repair or replace this product or any component of the product found to be defective during the guarantee period.
Doing so will void this guarantee. This guarantee is valid for the original retail purchaser from the date of initial retail purchase and is not transferable. Keep the original sales receipt. Proof of purchase is required to obtain satisfaction guarantee performance. Sunbeam dealers, service centers, or retail stores selling Sunbeam products do not have the right to alter, modify, or in any way change the terms and conditions of this guarantee.
This guarantee does not cover damage resulting from any of the following: negligent use or misuse of the product, use on improper voltage or current, use contrary to the operating instructions, disassembly, repair, or alteration by anyone other than Sunbeam or an authorized Sunbeam service center. Further, the guarantee does not cover: Acts of God, such as fire, flood, hurricanes, and tornadoes.
What are the limits on Sunbeam’s Liability?
Sunbeam shall not be liable for any incidental or consequential damages caused by the breach of any express, implied, or statutory guarantee or condition. Except to the extent prohibited by applicable law, any implied guarantee or condition of merchantability or fitness for a particular purpose is limited in duration to the duration of the above guarantee. Sunbeam disclaims all other guarantees, conditions, or representations, express, implied, statutory, or otherwise.
Some provinces, states, or jurisdictions do not allow the exclusion or limitation of incidental or consequential damages or limitations on how long an implied guarantee lasts, so the above limitations or exclusion may not apply to you. This guarantee gives you specific legal rights, and you may also have other rights that vary from province to province, state to state, or jurisdiction to jurisdiction.
Customer Service
- Ph: 1-800-33,4-0759
- Website: https://www.oster.com/
FAQs
Q: What are the key features of the Oster TSSTTVFDDAF Digital Air Fry Oven?
The Oster TSSTTVFDDAF combines several culinary features, such as air frying, baking, broiling, toasting, and reheating, with a digital touchscreen interface. Its air fry feature enables crisp, lower-fat dishes, and its convection technology guarantees even cooking.
Q: Can I cook multiple items at once?
Yes, but to guarantee adequate air circulation, don’t pack the trays too full. When baking or broiling, keep other things apart and use one tray for air frying for optimal results.
Q: Do I need to preheat the oven?
To get the best results when baking, roasting, or air-frying heavier items, preheating is advised. When the oven reaches the predetermined temperature, a preheating indicator appears on the digital display.
Q: Is the oven safe for use with metal utensils?
No, to avoid scratches, do not use metal utensils on non-stick trays or inside the air fry basket. Use tools made of silicone, wood, or heat-resistant plastic.
Q: Can I use aluminum foil or parchment paper?
Yes, you can cover trays with little pieces of foil or parchment paper, but never cover the entire basket as this would impede airflow and reduce cooking efficiency.
Q: What do the digital display symbols mean?
In addition to temperature, timer, and cooking state indicators, the touchscreen display displays modes including Bake, Broil, Toast, Air Fry, and Reheat. For definitions of symbols, consult the diagram in the instruction manual.
Q: Can the oven fit a whole chicken or a large casserole?
Yes, medium-sized roasts and casseroles can be baked in the oven. Before cooking, measure your cookware to make sure it fits properly and has enough airflow.





